EasyManua.ls Logo

JVC HX-Z1 - CD Playback; Loading and Playing CDs

JVC HX-Z1
54 pages
Print Icon
To Next Page IconTo Next Page
To Next Page IconTo Next Page
To Previous Page IconTo Previous Page
To Previous Page IconTo Previous Page
Loading...
HX-Z1
16
3.1.2 Removing the CD tray assembly
(See Fig.2~9)
(1) Remove the front panel assembly.
(2) Remove the CD changer mechanism assembly.
(3) Remove the CD Servo control board.
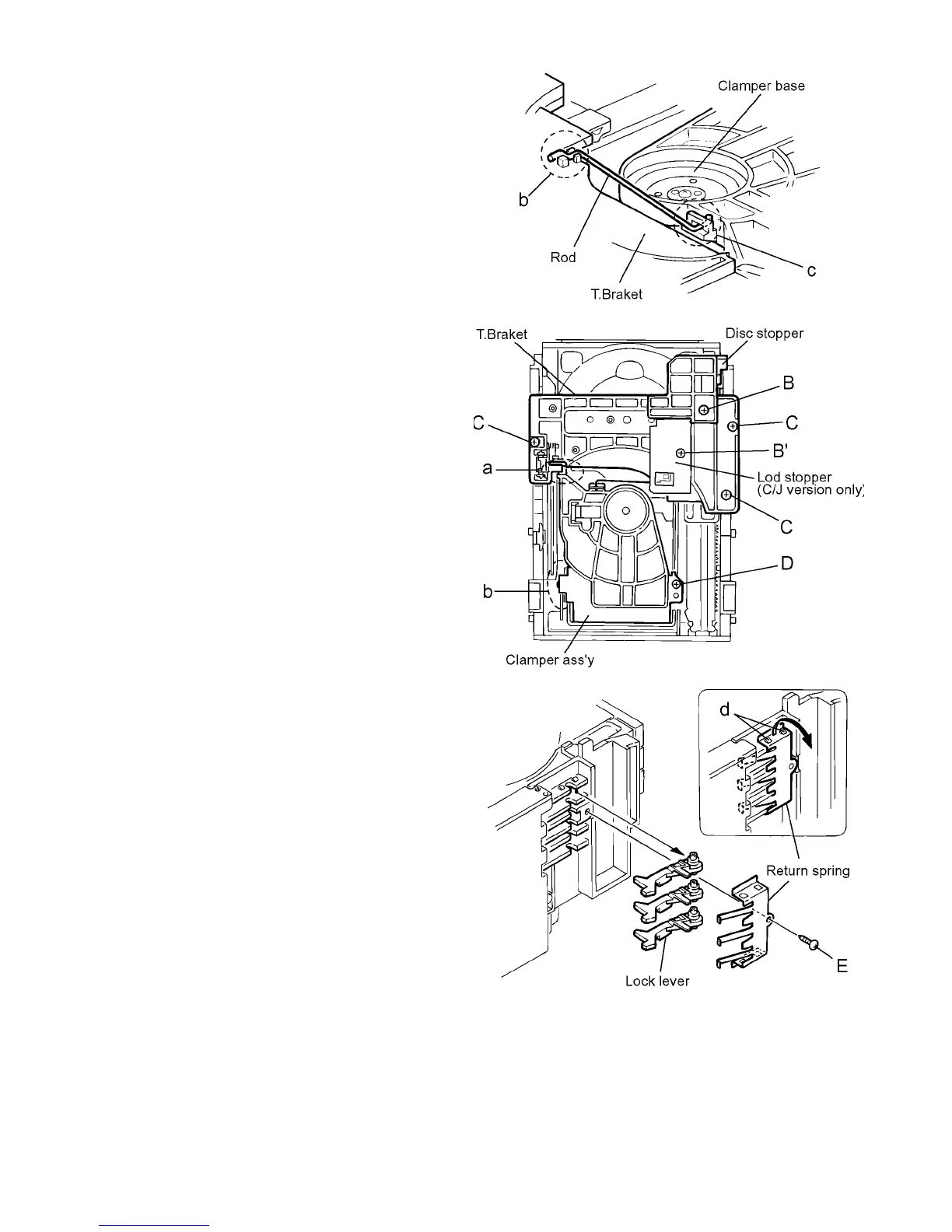
(4) Remove the screw B' retaining the lod stopper.
(5) From the T.bracket section "b" and clamper base section
"c" , remove both of the edges fixing the rod(See Fig.2 and
3).
(6) Remove the screw B retaining the disc stopper
(See Fig.3).
(7) Remove the three screws C retaining the T.bracket
(See Fig.3).
(8) Remove the screw D retaining the clamper assembly
(See Fig.3).
(9) From the left side face of the chassis assembly, remove
the one screw E retaining both of the return spring and
lock lever(See Fig. 4).
(10) By removing the pawl at the section d fixing the return
spring, dismount the return spring(See Fig.4).
(11) Remove the three lock levers(See Fig.4).
(12) Check whether the lifter unit stopper has been caught into
the hole at the section e of CD tray assembly as shown in
Fig.5.
(13) Make sure that the driver unit elevator is positioned as
shown in Fig.6 from to the second or fifth hole on the left
side face of the CD changer mechanism assembly.
[Caution]
In case the driver unit elevator is not at above position,
set the elevator to the position as shown in Fig.7 by
manually turning the pulley gear as shown in Fig.8.
(14) Manually turn the motor pulley in the clockwise direction
until the lifter unit stopper is lowered from the section e of
CD tray assembly(See Fig.8).
(15) Pull out all of the three stages of CD tray assembly in the
arrow direction f until these stages stop
(See Fig.9).
(16) At the position where the CD tray assembly has stopped,
pull out the CD tray assembly while pressing the two pawls
g and g' on the back side of CD tray assembly(See Fig.9).
In this case, it is easy to pull out the assembly when it is
pulled out first from the stage CD tray assembly.
Fig.2
Fig.3
Fig.4

Table of Contents

Other manuals for JVC HX-Z1

Related product manuals