EasyManua.ls Logo

JVC HX-Z1 - Flow of Functional Operation until TOC Read

JVC HX-Z1
54 pages
Print Icon
To Next Page IconTo Next Page
To Next Page IconTo Next Page
To Previous Page IconTo Previous Page
To Previous Page IconTo Previous Page
Loading...
HX-Z1
32
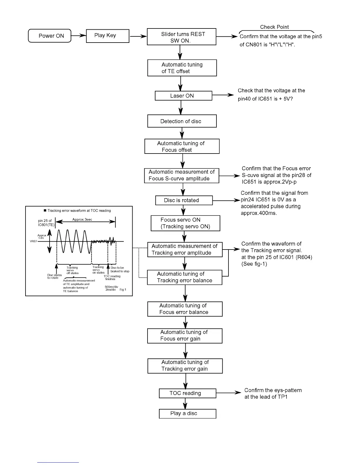
4.7 Flow of functional operation until TOC read

Table of Contents

Other manuals for JVC HX-Z1

Related product manuals