EasyManua.ls Logo

Keysight N9020B - Page 339

Keysight N9020B
2650 pages
To Next Page IconTo Next Page
To Next Page IconTo Next Page
To Previous Page IconTo Previous Page
To Previous Page IconTo Previous Page
Loading...
3 VMA Mode
3.1 Digital Demod Measurement
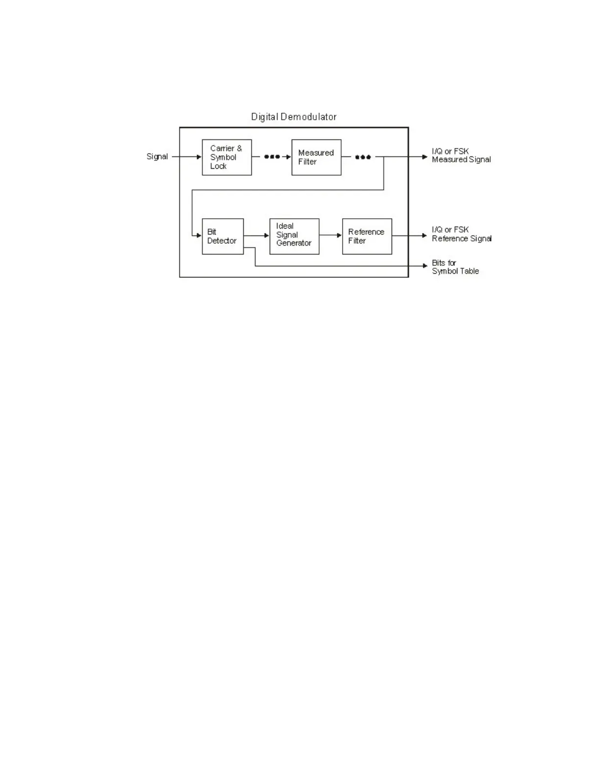
Note that for FSK signals, filtering is baseband and occurs after the FM
demodulator.
The measured signal is the signal that results after demodulating your waveform.
The reference signal is the signal that would result after demodulating your signal if
your signal were ideal (contained no errors).
Notice that there are separate filters for the measured and reference signals. You
MUST select the correct filter for both signals. Otherwise, a settings conflict
message “The Meas/Ref Filter combination is not allowable!” is generated.
Filtering for various communication systems can occur either at the transmitter or
the receiver; or the filtering can be distributed between the transmitter and the
receiver. This is an important concept that affects your filter selection for the
measured and reference signals. The instrument's measured filter represents
filtering in the system's receiver while the reference filter represents filtering in the
entire system. Both filters share the same alpha/BT. The following table shows some
examples of filter selection:
If the transmitter
filter is:
The measure filter
should be:
The reference filter
should be:
root raised cosine root raised cosine raised cosine
Raised cosine none raised cosine
Gaussian none Gaussian
any type user defined any type
You can modify the shape and width of Gaussian and Nyquist (cosine) filters. The
shape and width is defined by the alpha (for cosine filters) or the BT (for Gaussian
filters). All filters are computed to 20 symbols in length. If the filter alpha is < 0.2, the
instrument uses 40 symbols to compute filter length (for most formats).
339 Vector Modulation Analyzer Mode User's &Programmer's Reference

Table of Contents

Other manuals for Keysight N9020B

Related product manuals