EasyManua.ls Logo

KitchenAid 5KMT2204 - Λειτουργίες Πίνακα Ελέγχου

KitchenAid 5KMT2204
280 pages
Print Icon
To Next Page IconTo Next Page
To Next Page IconTo Next Page
To Previous Page IconTo Previous Page
To Previous Page IconTo Previous Page
Loading...
122
ΜΕΡΗ ΚΑΙ ΧΑΡΑΚΤΗΡΙΣΤΙΚΑ
ΛΕΙΤΟΥΡΓΙΑ ΤΗΣ ΦΡΥΓΑΝΙΕΡΑΣ
ΜΕΡΗ ΚΑΙ ΧΑΡΑΚΤΗΡΙΣΤΙΚΑ
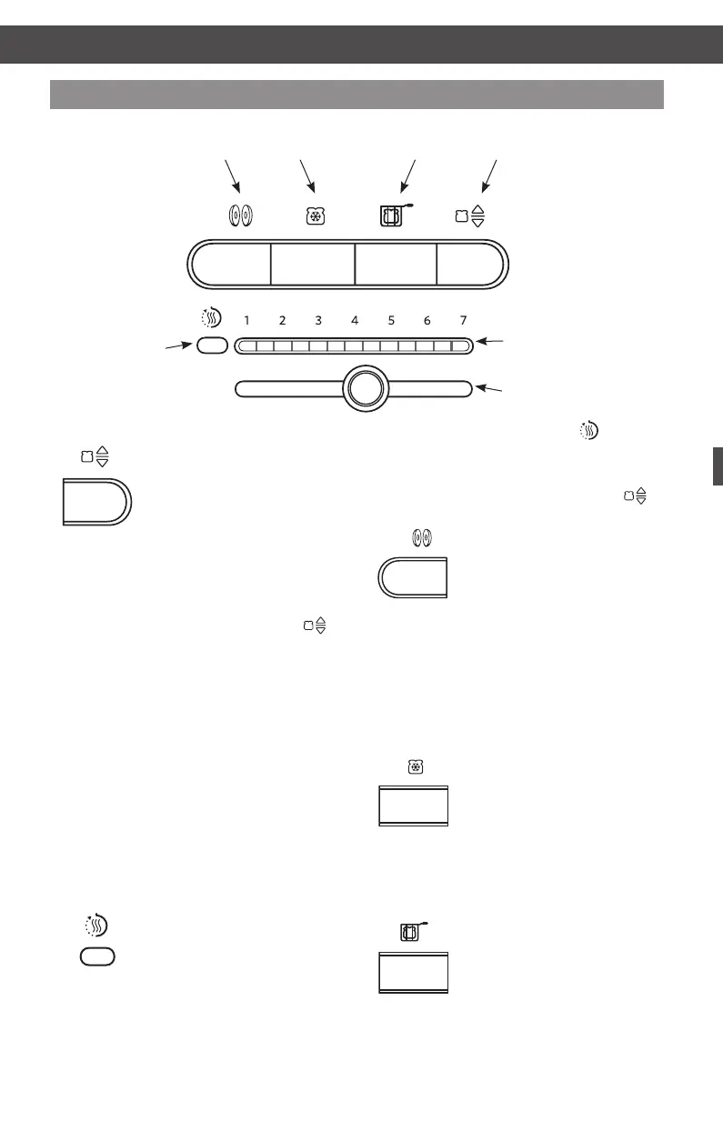
Λειτουργία φρυγανίσατο/ακύρωση
Αυτή η συσκευή είναι ια
αυτόατη φρυγανιέρα.
Μόλι τοποθετήσετε το ψωί
στην υποδοχή, ησχάρα θα
χαηλώσει και το φρυγάνισα
θα ξεκινήσει σύφωνα
ε τι επιλεγένε ρυθίσει. Μπορεί
ορισένα αρτοσκευάσατα να είναι πολύ
λεπτά για να ενεργοποιηθεί το αυτόατο
φρυγάνισα. Εάν το ψωί δεν χαηλώσει
εντό 3δευτερολέπτων, πατήστε το
διακόπτη φρυγανίσατο/ακύρωση ( )
για να ξεκινήσετε τη διαδικασία χειροκίνητα.
Πατήστε ξανά για να ακυρώστε τον
κύκλο φρυγανίσατο που εκτελείται
ήνα διακόψετε τον κύκλο τη λειτουργία
διατήρηση ζεστού ψωιού.
ιακόπτη θερότητα και Ενδεικτικέ
λυχνίε θερότητα/χρονοέτρου
Μπορείτε να ορίσετε το επίπεδο
φρυγανίσατο που επιθυείτε. Οι ενδεικτικέ
λυχνίε εφανίζουν τη ρύθιση στιγιαία.
Κατά τη διάρκεια του φρυγανίσατο,
οι ενδεικτικέ λυχνίε στη γραή
ρύθιση θερότητα θα αναβοσβήνουν
υποδεικνύοντα το χρόνο που αποένει
έχριτην ολοκλήρωση τουφρυγανίσατο.
Ενδεικτική λυχνία για
διατήρηση ζεστούψωιού
Εάν δεν αφαιρέσετε το
ψωί από τη φρυγανιέρα
εντό 45δευτερολέπτων ετά το τέλο
του κύκλου, η φρυγανιέραχαηλώνει
αυτόατα το ψωί καιθέτει σε λειτουργία
τον κύκλοδιατήρηση ζεστού ψωιού
χρησιοποιώντα χαηλή θεροκρασία
για έω 3 λεπτά. Ηενδεικτική λυχνία
για διατήρηση ζεστού ψωιού ( ) θα
ανάψει, ενώ αυτό ο κύκλο είναι ενεργό.
Μπορείτε να ακυρώσετε αυτό τον κύκλο
οποιαδήποτε στιγή θέλετε πατώντα το
διακόπτη φρυγανίσατο/ακύρωση ( ).
Λειτουργία για στρογγυλά
ψωάκια
Η φρυγανιέρα σα διαθέτει
ια ειδική ρύθιση για να
φρυγανίζετε στρογγυλά
ψωάκια, εξασφαλίζοντα
την ιδανική θερότητα και το χρόνο που
απαιτείται για καλύτερα αποτελέσατα.
Ταστοιχεία θερότητα θα ρυθιστούν
ώστε να φρυγανιστεί καλά το εσωτερικό
ενό κοένου στη έση στρογγυλού
ψωιού χωρί να καεί η εξωτερική
επιφάνεια τουψωιού.
Λειτουργία ξεπαγώατο
Η φρυγανιέρα διαθέτει ια
λειτουργία ξεπαγώατο
που ξεπαγώνει σταδιακά και
φρυγανίζει κατεψυγένο
ψωί. Ναχρησιοποιείτε
αυτή τη λειτουργία
όνογιακατεψυγένα
ψωάκια.
Λειτουργία για σάντουιτ
Η φρυγανιέρα σα διαθέτει
ειδική ρύθιση για σάντουιτ,
η οποία χρησιοποιείται
αποκλειστικά ε τη σχάρα
γιασάντουιτ τη KitchenAid
για να πορείτε να φρυγανίζετε σάντουιτ
ε λεπτέ φέτε κρέατο και τυριού. Για
περισσότερε λεπτοέρειε, ανατρέξτε
στην ενότητα "Φρυγάνισα σάντουιτ".
ιακόπτη θερότητα
Ενδεικτικέ λυχνίε
θερότητα/
χρονοέτρου
Ενδεικτική λυχνία
για διατήρηση
ζεστού ψωιού
Λειτουργία για
στρογγυλά ψωάκια
Λειτουργία
ξεπαγώατο
Λειτουργία
για σάντουιτ
Λειτουργία φρυγανίσατο/
ακύρωση
Λειτουργίε πίνακα ελέγχου
W10506838B_08_GR.indd 122 2/12/14 8:30 AM

Table of Contents

Other manuals for KitchenAid 5KMT2204

Related product manuals