EasyManua.ls Logo

KitchenAid 5KMT2204 - Bedienelemente

KitchenAid 5KMT2204
280 pages
Print Icon
To Next Page IconTo Next Page
To Next Page IconTo Next Page
To Previous Page IconTo Previous Page
To Previous Page IconTo Previous Page
Loading...
26
TEILE UND MERKMALE
BEDIENEN DES TOASTERS
TEILE UND MERKMALE
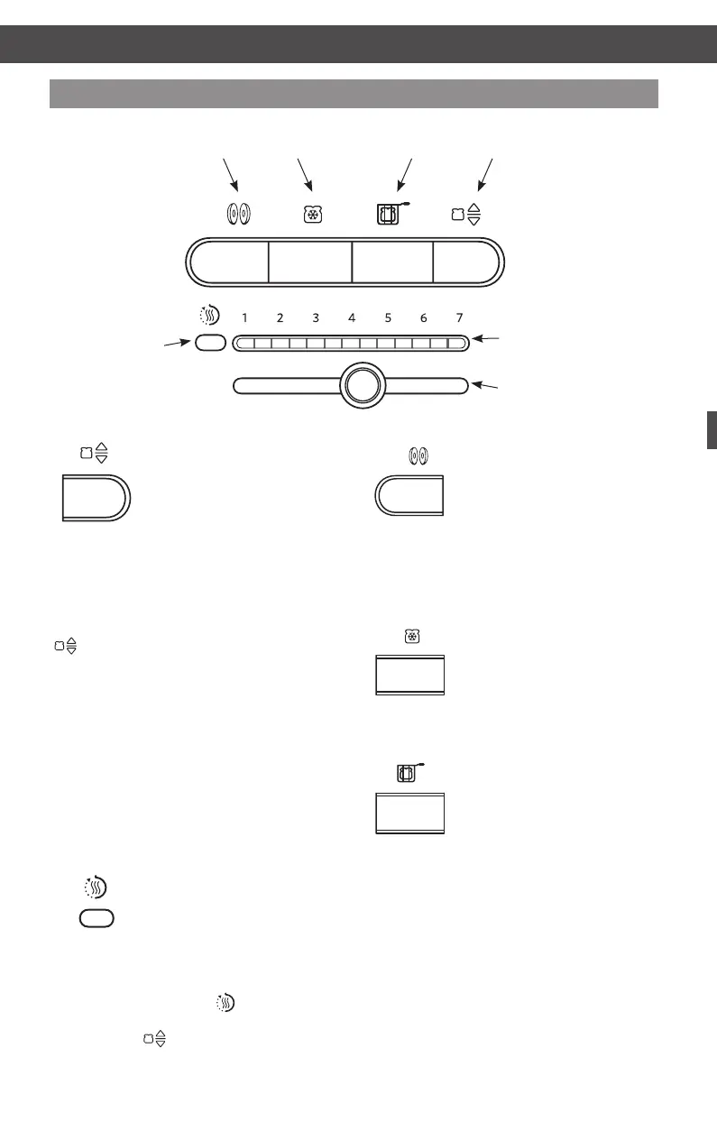
Toast-/Ende-Funktion
Dieser Toaster funktioniert
automatisch. Sobald Sie Brot
in einen der Schlitze legen,
wird es abgesenkt und der
Toastvorgang beginnt mit
den zuvor gewählten Einstellungen. Manche
Speisen sind allerdings zu leicht, um die
Automatik auszulösen. Falls der Vorgang
nicht binnen 3 Sekunden beginnt, können
Sie ihn durch Drücken der Taste „Toast/Ende“
(
) einleiten. Drücken Sie die Taste erneut,
um einen laufenden Toastvorgang oder
Warmhaltezyklus zu beenden.
Bräunungsregelung und Anzeige
für Bräunungsgrad und Restdauer
Sie können den gewünschten Bräunungsgrad
exakt einstellen. An der Anzeige können
die aktuelle Einstellung ablesen. Während
des Toastens blinken die Segmente der
Anzeige, um die Restdauer des Toast-
vorgangs anzuzeigen.
Warmhalte-Anzeige
Wird der Schlitzinhalt nicht
innerhalb von 45 Sekunden
nach Abschluss des Vorgangs
entnommen, senkt der Toaster
diesen automatisch ab und leitet für bis zu
drei Minuten einen Warmhaltezyklus ein.
Die Warmhalte-Anzeige (
) leuchtet.
Zum Beenden drücken Sie die Taste
Toast/Ende“ (
).
Bagel-Funktion
Ihr Toaster bietet eine spezielle
Funktion zum Rösten von
Bagels; so erzielen Sie durch
optimale Anpassung von
Wärme und Dauer beste
Ergebnisse. Die Heizelemente toasten nun
die Innenseite des aufgeschnittenen Bagels,
ohne dass die Oberseite verbrannt wird.
Auftaufunktion
Ihr Toaster verfügt über
eine Defrost-Funktion, die
gefrorenes Brot behutsam
auftaut und dann bräunt.
Verwenden Sie diesen Modus
nur für gefrorene Speisen.
Sandwich-Funktion
Ihr Toaster besitzt eine
spezielle Sandwich-Funktion,
die nur in Verbindung mit der
KitchenAid-Sandwich-Zange
zum Zubereiten von Sandwiches mit dünnen
Wurst- oder Fleisch- und Käsescheiben
verwendet werden darf. Einzelheiten ndet
Sie unter „Toasten von Sandwiches“.
Bräunungsregelung
Anzeige für den
Bräunungsgrad
und die Restdauer
Warmhalte-
Anzeige
Bagel-
Funktion
Auftau-
funktion
Sandwich-
Funktion
Toast-/Ende-
Funktion
Bedienelemente
W10506838B_02_DE.indd 26 2/11/14 10:48 AM

Table of Contents

Other manuals for KitchenAid 5KMT2204

Related product manuals