EasyManua.ls Logo

KitchenAid 5KMT2204 - Eigenschappen Van Het Bedieningspaneel

KitchenAid 5KMT2204
280 pages
Print Icon
To Next Page IconTo Next Page
To Next Page IconTo Next Page
To Previous Page IconTo Previous Page
To Previous Page IconTo Previous Page
Loading...
74
ONDERDELEN EN EIGENSCHAPPEN
BROODROOSTER BEDIENEN
ONDERDELEN EN EIGENSCHAPPEN
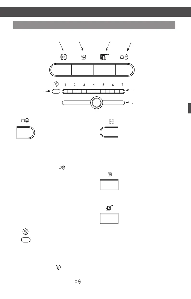
Functie roosteren/annuleren
Dit is een automatische brood-
rooster. Zodra er brood in
elke sleuf zit, zullen de rekjes
naar beneden gaan en het
roosteren zal beginnen volgens
de gekozen instellingen. Bepaalde voeding
kan te licht zijn waardoor het automatisch
roosteren niet begint. Als het voedsel na
3 seconden niet naar beneden gaat, druk dan
op “roosteren/annuleren” (
) om de cyclus
manueel te starten. Druk nogmaals om een
roostercyclus die al bezig is te annuleren,
of om de warmhoudcyclus te beëindigen.
Bruiningsregelaar & Indicatorlichtjes
bruiningsregelaar/Afteltimer
Om het gewenste niveau van bruining precies
in te stellen. Dankzij de indicator lichtjes ziet
u in een oogopslag de instelling. Tijdens het
roosteren zullen lichtjes op de balk ikkeren
om de resterende roostertijd aan te geven.
Warmhoudindicator
Als het voedsel niet binnen
45 seconden na het einde van
een cyclus wordt verwijderd,
zal de broodrooster auto-
matisch het voedsel laten zakken en de
warmhoudcyclus activeren waarbij gedurende
3 minuten een lage hitte wordt gebruikt.
De warmhoudindicator (
) zal oplichten als
deze cyclus is geactiveerd. U kunt deze cyclus
op eender welk moment annuleren door te
drukken op “roosteren/annuleren” (
).
Functie voor bagels
Uw broodrooster heeft
een speciale instelling om
bagels te roosteren, die de
optimale temperatuur en
tijd voorziet voor de beste
resultaten. De verwarmingselementen zullen
de binnenkant van een gesneden bagel
voorzichtig roosteren zonder de buitenkant
te verbranden.
Ontdooifunctie
Uw broodrooster heeft een
ontdooifunctie, die zachtjes
diepgevroren brood ontdooit en
roostert. Gebruik deze functie
enkel voor bevroren voedsel.
Functie voor tosti/
croque-monsieur
Uw broodrooster heeft
een speciale tosti/croque-
monsieur instelling, die
exclusief te gebruiken is
met de KitchenAid croque-monsieur
klem, voor het roosteren van sneden
brood met dunne sneetjes vlees en kaas.
Zie “Bereiding van tosti’s/croque-monsieurs”
voor meer informatie.
Bruinings-
regelaar
Indicatorlichtjes
bruinings regelaar/
Afteltimer
Warmhoud-
indicator
Functie voor
bagels
Ontdooi-
functie
Functie voor tosti/
croque-monsieur
Functie roosteren/
annuleren
Eigenschappen van het bedieningspaneel
W10506838B_05_NL.indd 74 2/12/14 3:07 PM

Table of Contents

Other manuals for KitchenAid 5KMT2204

Related product manuals