EasyManua.ls Logo

KitchenAid 5KMT2204 - Funciones del Cuadro de Mandos

KitchenAid 5KMT2204
280 pages
Print Icon
To Next Page IconTo Next Page
To Next Page IconTo Next Page
To Previous Page IconTo Previous Page
To Previous Page IconTo Previous Page
Loading...
90
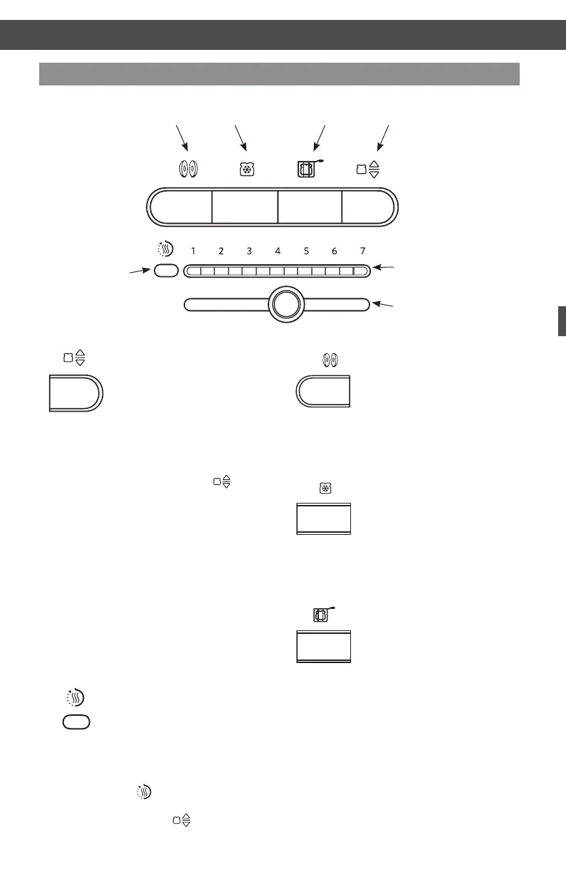
COMPONENTES Y FUNCIONES
FUNCIONAMIENTO DE LA TOSTADORA
COMPONENTES Y FUNCIONES
Función Tostar/Cancelar
Esta tostadora es automática.
En cuanto se introduce pan en
una ranura, esta desciende y el
pan empieza a tostarse con las
funciones seleccionadas. Es
posible que algunos alimentos sean tan ligeros
que no activen el tostado automático. Si el
alimento no empieza a descender transcurridos
3 segundos, pulse Tostar/Cancelar (
) para
iniciar el ciclo manualmente. Vuelva a pulsar
estebotónparacancelarelcicloencurso
onalizaruncicloMantenercaliente.
Control e indicadores luminosos de
intensidad de tostado/Temporizador
Elcontrolpermitedenirconprecisiónel
grado de tostado. Los indicadores luminosos
muestran el nivel elegido de un solo vistazo.
Durante el funcionamiento, los indicadores
luminosos de la barra de intensidad
parpadean para informar del tiempo
restante del ciclo de tostado.
Indicador Mantener caliente
Si el alimento no se retira en
45segundosalnalizarunciclo,
la tostadora lo vuelve a bajar
automáticamente y activa un ciclo Mantener
caliente de 3 minutos a baja temperatura.
Mientras el ciclo está activo, el indicador
Mantener caliente (
) se ilumina. Puede
cancelar este ciclo en cualquier momento
pulsando Tostar/Cancelar (
).
Función Bollos
Su tostadora incluye una
funciónespecialparatostar
bollos, que garantiza el calor
ytiempoóptimosparaobtener
los mejores resultados. Las
resistencias se ajustan para dorar el interior de
un bollo cortado en dos sin tostar el exterior.
Función Congelados
La tostadora incluye el modo
Congelados, que descongela
y tuesta suavemente pan
congelado. Utilice esta
funciónúnicamentecon
alimentos congelados.
Función Sándwiches
La tostadora incluye una
funciónespecialpara
sándwiches que se utiliza
exclusivamente con la rejilla
KitchenAid para tostar
sándwichesrellenosdelonchasnas
deambreyqueso.Paraobtenermás
información,consulte"Tostarsándwiches".
Control de intensidad
de tostado
Indicadores luminosos de
intensidad de tostado/
Temporizador
Indicador
Mantener
caliente
Función
Bollos
Función
Congelados
Función
Sándwiches
Función
Tostar/Cancelar
Funciones del cuadro de mandos
W10506838B_06_ES.indd 90 2/12/14 5:27 PM

Table of Contents

Other manuals for KitchenAid 5KMT2204

Related product manuals