EasyManua.ls Logo

Kold-Draft GT36 Series - GB106 XR

Kold-Draft GT36 Series
85 pages
Print Icon
To Next Page IconTo Next Page
To Next Page IconTo Next Page
To Previous Page IconTo Previous Page
To Previous Page IconTo Previous Page
Loading...
32
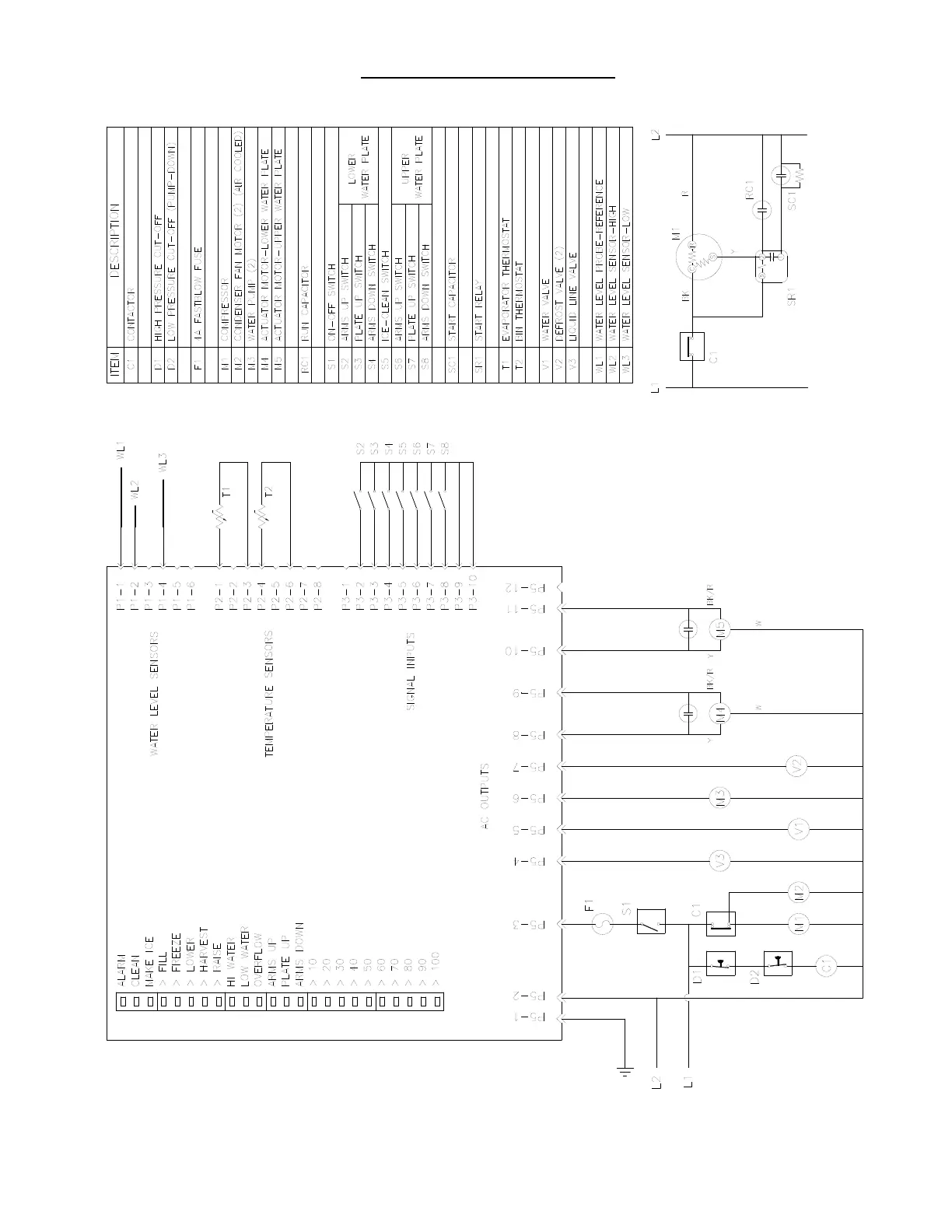
GB106XR WIRING DIAGRAM

Table of Contents

Other manuals for Kold-Draft GT36 Series

Related product manuals