EasyManua.ls Logo

Kold-Draft SC200 Series - Model Number Key; Date Code Key; Serial Number Plate Location

Kold-Draft SC200 Series
26 pages
Print Icon
To Next Page IconTo Next Page
To Next Page IconTo Next Page
To Previous Page IconTo Previous Page
To Previous Page IconTo Previous Page
Loading...
SC200 Installation& Operation Manual 3-16
2
Ice Maker Identification
Model Number Key
SC 2 0 1 A C
Cube Size
C = Full Cube
HK = Half Cube
K = Cube-Let
Condenser Type
A = Air cooled condenser-self contained
L = Liquid cooled condenser-self contained
Electrical Characteristics
1 = 115 volt-60 hz.-1ph. (2-wire plus ground)
4 = 208/230 volt-60 hz.-1ph. (2-wire plus ground)
7 = 220/240 volt-50 hz.-1ph. (2-wire plus ground)
Modification Code
0 = No Modifications
Series
2 = 200 Series
Model Family
SC = Self Contained
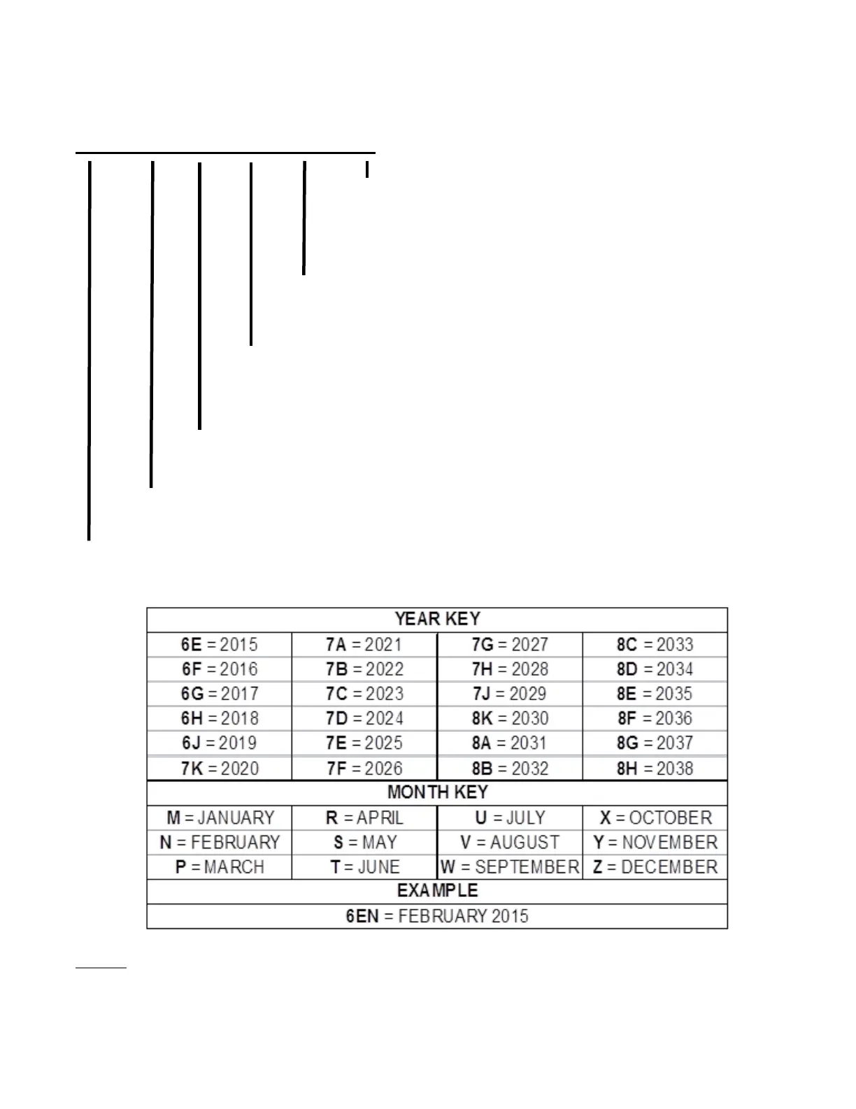
Date Code Key
NOTE:The serial number plate is located in the condensing unit compartment, on the left side
wall. A complete model number and date code are essential for the accurate identification of the
ice machine and proper selection of replacement parts.

Related product manuals