EasyManua.ls Logo

Konica Minolta CA-100Plus - Page 22

Konica Minolta CA-100Plus
125 pages
Print Icon
To Next Page IconTo Next Page
To Next Page IconTo Next Page
To Previous Page IconTo Previous Page
To Previous Page IconTo Previous Page
Loading...
20
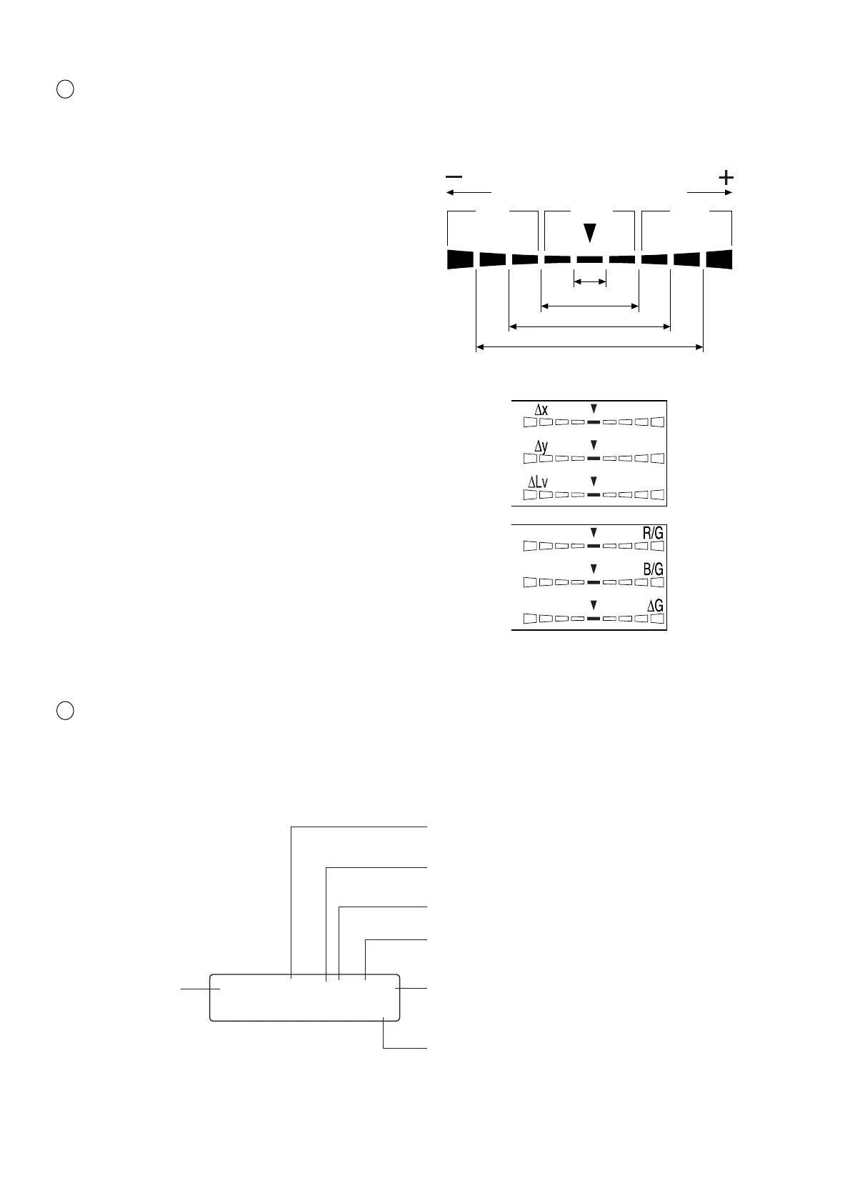
3 Analog display section ............................ Displays the difference (%) between the measured value and the tar-
get color or the difference (%) between measured values.
The range for each dot can be set between 0.1 and 99%. (Page 68)
The range has been set to 10% prior to factory ship-
ment.
When xylv, TuvLv, u'v'Lv or XYZ measurement
mode is selected
x, y and Lv are displayed.
When an analyzer measurement mode is selected
For G-reference R/G, B/G and G are displayed.
For R-reference R, B/R and G/R are displayed.
4 LCD display section ................................ Displays the memory channel, probe no., ID name, warning and set-
tings.
In case of error, an error message will appear.
(For a description of what to do in case of error, refer to page 107.)
+n×8% or
higher
Red Green Red
-
n×8%
or lower
Below ±n%
Below ±n×2%
Below ±n×4%
Below ±n×8%
CH00 EXT Ad P1H
[MINOLTA ]
Displays the currently selected SYNC mode. (NTSC,
PAL, EXT, UNIV, INT) (Page 38)
Displays the currently selected measurement speed.
(A.F.S) (Page 36)
Displays the calibration mode for the currently se-
lected memory channel. (d.a.m) (Page 56)
Probe no. (Page 43)
H will be displayed for High Luminance Measuring
Probe(CA-PH02/05). For Measuring Probe(CA-P02/
05) nothing will be displayed.
ID name display area (Page 66)
Memory channel
(Page 48)

Table of Contents

Related product manuals