EasyManua.ls Logo

Kubota DF972-E2 - TECHNICAL SPECIFICATIONS AND REGULATIONS; EXHAUST EMISSION REGULATION ITEMS

Kubota DF972-E2
138 pages
Print Icon
To Next Page IconTo Next Page
To Next Page IconTo Next Page
To Previous Page IconTo Previous Page
To Previous Page IconTo Previous Page
Loading...
4
WG972-E2, DF972-E2, WSM
IMPORTANT ITEMS OF EXHAUST EMISSION REGULATION
IMPORTANT ITEMS OF EXHAUST EMISSION
REGULATION
W1028060
W1028104
W1034885
To con f o r m w it h U . S . E PA a n d CAR B S O R Es (S m a ll Off R o ad E ng ine s ) em i ssio n reg u lati o n s , t h e W G 9 72- E 2 /
DF972-E2 engine must observe below items.
1. INLET AND EXHAUST SYSTEM
The WG972-E2 / DF972-E2 engine must use the below air cleaner and inlet pipe, and exhaust back pressure of the
muffler must be within the below values.
Part Part No.
Genuine air cleaner 1G657-1101-1
Genuine inlet pipe EG561-1164-1
Brake horse power SAE net int. Allowable maximum exhaust back pressure
23.1 kW (31.0 HP) / 3600 min
1
(rpm) 19.6 kPa (147.1 mmHg) / 3600 min
1
(rpm)
Any modifications to the fuel system or any adjustments made on this engine will cause this engine to be in
non-compliance with emission regulations.
2. ALTITUDE COMPENSATION KIT
IMPORTANT
Altitude compensation kit is applied for EPA and CARB certified engines only.
EPA and CARB emission regulations require the ultimate user of non-road SI engine, as their obligation,
to adjust the emissions by installing the appropriate genuine altitude compensation kit. And the engine
manufacturer must provide such kit when the engine is operated at an altitude that exceeds the standard
level, as guarantied by the engine manufacturer. For this purpose, KUBOTA prepared genuine altitude
compensation kit described below. The ultimate users of SI engines must comply with the regulations
through the installation of the appropriate altitude compensation kit for the altitude range where the
engine will be operated.
See page S-19: "Replacement of Altitude Compensation Kit" for reference to the exchange of altitude
compensation kit.
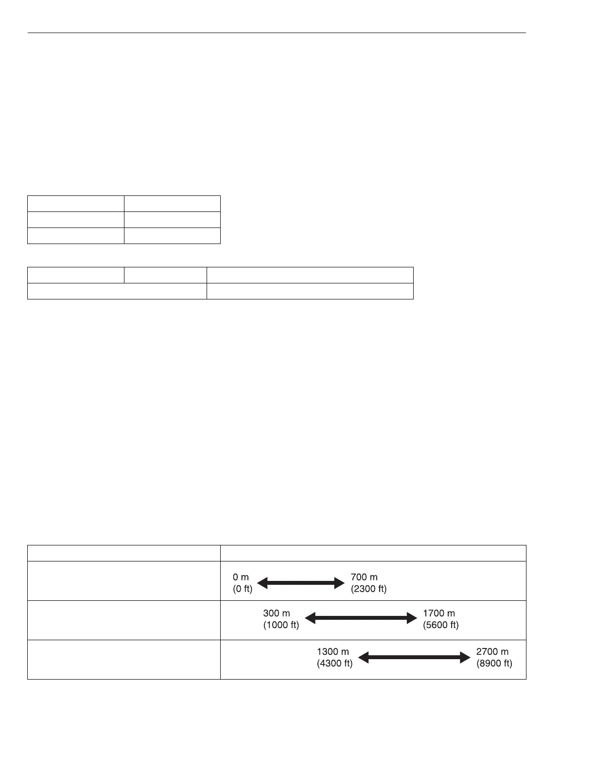
Altitude Compensation Kit Applicable Altitude Ranges
Original Carburetor (with 0 m kit)
1000 m compensation kit
2000 m compensation kit
3. LPG REGULATOR WITH VAPORIZER (DF972-E2)
When operating DF972-E2 on LP Gas, only a KUBOTA GENUINE LPG REGULATOR KIT can be used.
KiSC issued 01, 2006 A

Table of Contents

Related product manuals