EasyManua.ls Logo

Lanier LD225 - Control Panel

Lanier LD225
184 pages
Print Icon
To Next Page IconTo Next Page
To Next Page IconTo Next Page
To Previous Page IconTo Previous Page
To Previous Page IconTo Previous Page
Loading...
Control Panel
23
1
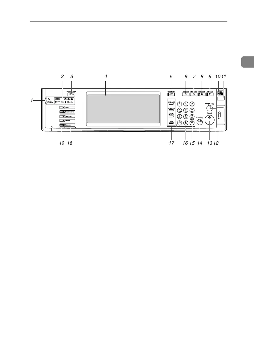
Control Panel
This illustration shows the control panel of a machine that has all options fully
installed.
1. Screen contrast knob
Adjusts display panel brightness.
2. Indicators
Show errors and machine status.
d: Add Staple indicator. See p.137
d Adding Staples”.
D: Add Toner indicator. See p.126
D Adding Toner”.
B: Load Paper indicator. See p.123
B Loading Paper”.
L: Service Call indicator
M: Open Cover indicator
x: Misfeed indicator. See p.129 “x
Clearing Misfeeds”.
m: Data In indicator. See “Control
Panel”, Printer Reference.
Communicating: Communicating in-
dicator. See “Control Panel”, Facsimile
Reference <Basic Features>.
i: Confidential File indicator. See
“Control Panel”, Facsimile Reference
<Basic Features>.
Receiving File: Receiving File indica-
tor. See “Control Panel”, Facsimile Ref-
erence <Basic Features>.
3. {User Tools/Counter} key
•User Tools
Press to change defaults and condi-
tions to meet your requirements. See
p.54 “Accessing User Tools (System
Settings)”.
•Counter
Press to check or print the counter val-
ue. See p.149 “Counter”.
Inquiry
Press to check where to contact for
machine repairs and ordering toner.
See p.148 “Inquiry”
4. Display panel
Displays operation status, error messag-
es, and function menus.
5. {Check Modes} key
Press to check settings.
6. {Program} key (copier/facsimi-
le/scanner mode)
Press to register frequently used settings,
or recall registered settings.
7. {Clear Modes} key
Press to clear previous copy job settings.
8. {Energy Saver} key
Press to switch to and from Energy Saver
mode. See p.29 “Energy Saver Mode”.
ZLFS280N
RuC4_EN_gsg-F_FM_forPaper.book Page 23 Tuesday, April 5, 2005 12:06 PM

Table of Contents

Other manuals for Lanier LD225

Related product manuals