EasyManua.ls Logo

Launch TLT235SC - Install the Floor Plate, Top Beam; Install the Top Beam

Launch TLT235SC
49 pages
Print Icon
To Next Page IconTo Next Page
To Next Page IconTo Next Page
To Previous Page IconTo Previous Page
To Previous Page IconTo Previous Page
Loading...
TLT235TLT240 Economical Two-post User’s Manual
20
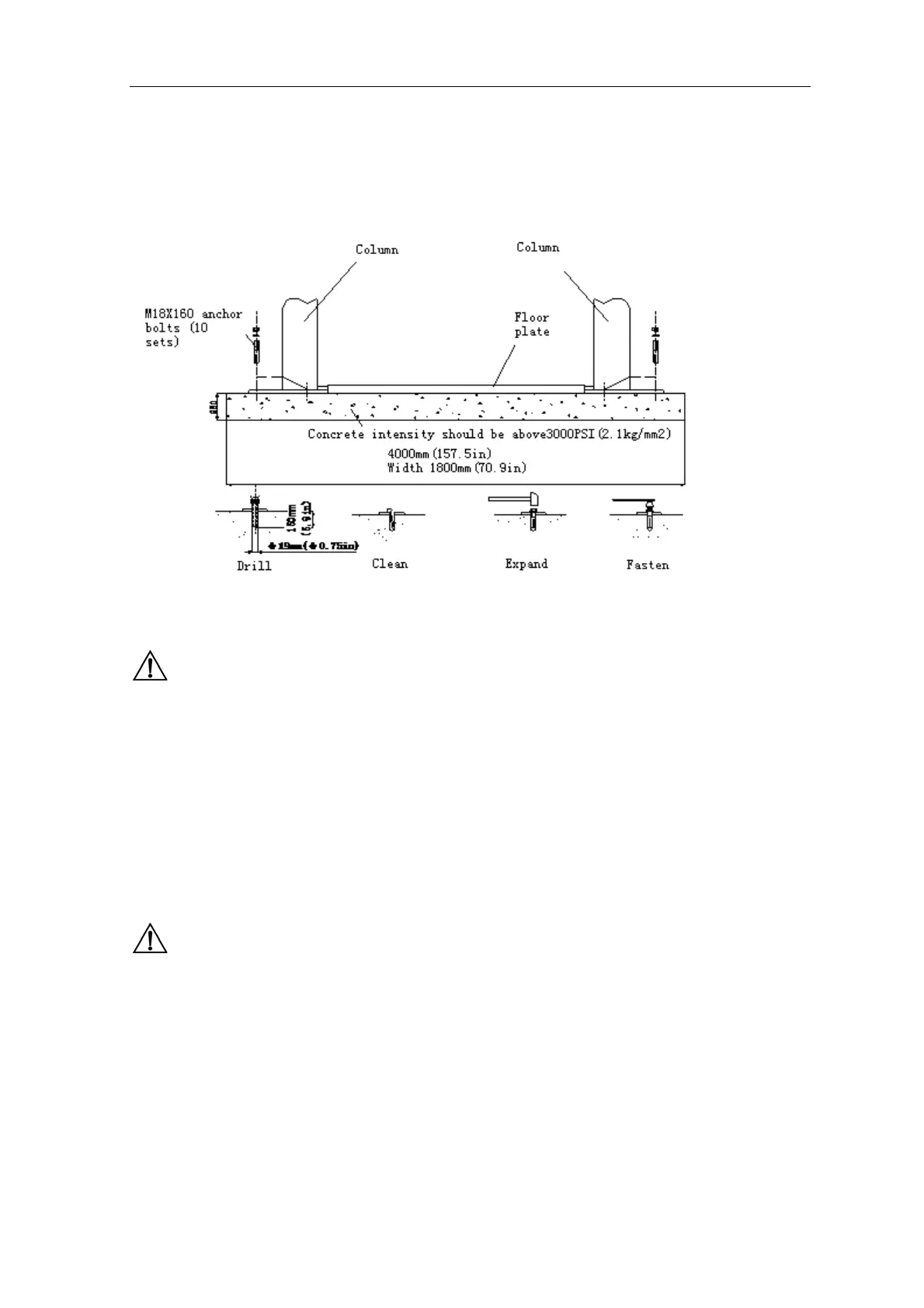
For floor-plate two post lift, use lifting equipment to
place power side column upper right to the location.
Align the base plate of column with the chalk line
layout. Guided by holes on the base plate of the
column, use 5 concrete anchor bolts to fix it onto the
ground. Drill and install anchor Bolt s at one time,
during the drilling process, ensure no movement of the
column.(Fig.11b) .
Fig.11b
Note
Use sharp
Φ
19mm concrete drill-bit to drill the
holes so as not to drill the hole too large, Use
proper pneumatic tool to remove the dust from
the hole. The depth of the hole is the same as that
of the anchor bolt. Insert the anchor bolt and
make the washers lean against the base of the
column.
Only use torque wrench instead of impact tools to
fasten anchor bolts.
Insert proper steel shim under the base seat of
column to plumb the column.
Note: The thickness of shims shouldn’t exceed
5mm.
To get the correct and safety installation, please follow
the following installation steps.
z Wear the safety goggles
z Use hard alloy drill-bit.
z Don’t use the drill-bit with wearing exceeding the
tolerance.
z The drill and concrete surface should be kept
perpendicular.
z Let the drill work itself. Don’t apply the extra force,
and don’t ream the hole or allow the drill to wobble.
z The drilling depth of hole is based on the length of
anchor bolt .The distance from the Bolt head to the
concrete floor should be more than twice of the bolt
diameter.
z Remove the dust from the hole.
z Gently tap the bolt into the hole till the washer rests
against the base plate of column.
z Fasten bolts
10.2.4 Install the floor plate, top beam
10.2.4.1 Install the top beam
Position the offside column at the designated chalk location.
Lift the top beam to its high position, and use four M12 bolt
s, washers and lock nuts to fix it with the columns (as
shown in Fig.12). When installing the top beam, ensure the
above micro switch support bracket adjacent to the power
side column. In Fig12:The symmetric top pulleys are to be
installed at position 11,asymmetric top pulleys are to be
installed at position 22.

Related product manuals