EasyManua.ls Logo

Launch TLT235SC - Page 35

Launch TLT235SC
49 pages
Print Icon
To Next Page IconTo Next Page
To Next Page IconTo Next Page
To Previous Page IconTo Previous Page
To Previous Page IconTo Previous Page
Loading...
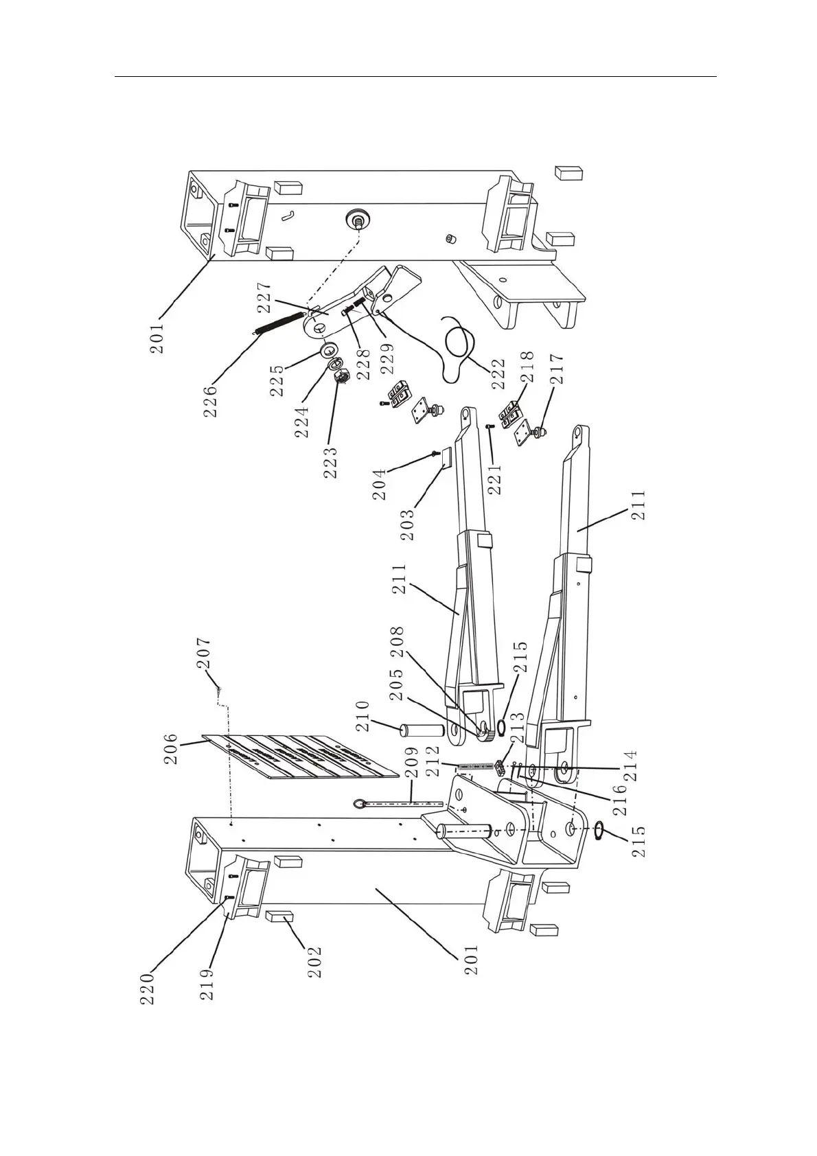
TLT235TLT240 Economical Two-post User’s Manual
29
Applicable to TLT235SCU/TLT235SC/ TLT240SC /TLT235SB/ TLT240SB

Related product manuals