EasyManua.ls Logo

Launch TLT235SC - Page 37

Launch TLT235SC
49 pages
Print Icon
To Next Page IconTo Next Page
To Next Page IconTo Next Page
To Previous Page IconTo Previous Page
To Previous Page IconTo Previous Page
Loading...
TLT235TLT240 Economical Two-post User’s Manual
31
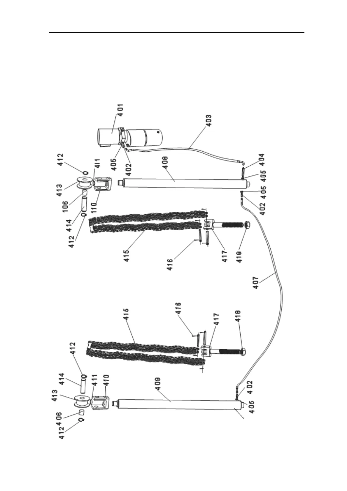
Applicable to TLT235SB/ TLT240SB
419

Related product manuals