EasyManua.ls Logo

Leica DMi1 - Page 86

Leica DMi1
132 pages
Print Icon
To Next Page IconTo Next Page
To Next Page IconTo Next Page
To Previous Page IconTo Previous Page
To Previous Page IconTo Previous Page
Loading...
43
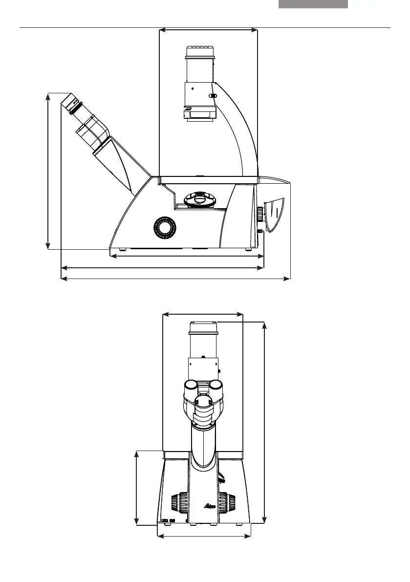
11. Technische Beschreibung
485-543 mm
(je nach Kondensor)
Gewicht: ca. 8,5 kg
(ohne Linsen und Kamera):
248 mm
196 mm
606 mm
535 mm
408 mm
418 mm
262 mm
212 mm

Table of Contents

Other manuals for Leica DMi1

Related product manuals