EasyManua.ls Logo

Lenovo ThinkPad E460 - Page 61

Lenovo ThinkPad E460
80 pages
Print Icon
To Next Page IconTo Next Page
To Next Page IconTo Next Page
To Previous Page IconTo Previous Page
To Previous Page IconTo Previous Page
Loading...
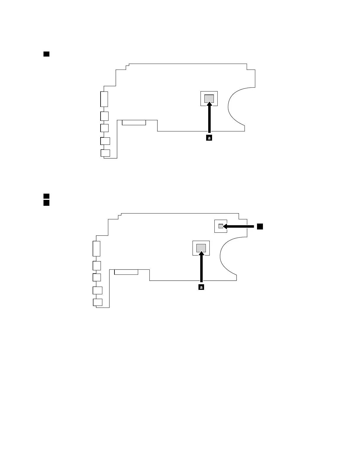
Formodelswithanintegratedthermalmodule
a Microprocessor
a
ThinkPadE465
Formodelswithadiscretethermalmodule
a AcceleratedProcessingUnit(APU)
b VideoGraphicArraycard(VGA)
a
b
72ThinkPadE460andE465HardwareMaintenanceManual

Table of Contents

Related product manuals