EasyManua.ls Logo

Lenovo ThinkServer RS140 - Front View of the Server

Lenovo ThinkServer RS140
146 pages
To Next Page IconTo Next Page
To Next Page IconTo Next Page
To Previous Page IconTo Previous Page
To Previous Page IconTo Previous Page
Loading...
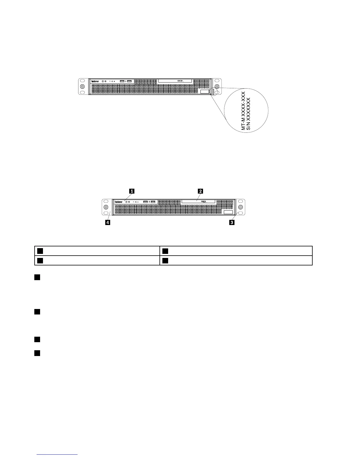
Themachinetype,model,andserialnumberlabelisattachedontherightrackhandleofyourserveras
shown.
Note:Dependingonthemodeltype,yourservermightlookslightlydifferentfromthisillustration.
!
ID
MT-M XXXX-XXX
S /N XXXXXXX
Figure2.Machinetype,model,andserialnumberlabel
Frontviewoftheserver
Thefollowingillustrationshowsthefrontviewoftheserver.
!
ID
Figure3.Frontviewoftheserver
1Frontpanel
2Slimopticaldrive(availableonsomemodels)
3Rackhandle(right)4Rackhandle(left)
1Frontpanel
Fordetailedinformationaboutthecontrols,connectors,andstatusLEDsonthefrontpanel,see“Front
panel”onpage13
.
2Slimopticaldrive
SomeservermodelscomewithaslimSATAopticaldrive.
3Rackhandle(right)
4Rackhandle(left)
Ifyourserverisinstalledinarackcabinet,youcanusetherackhandlestohelpyouslidetheserveroutof
therackcabinet.Youalsocanusetherackhandlesandscrewstosecuretheserverintherackcabinet
sothattheservercannotslideout,especiallyinvibration-proneareas.Formoreinformation,refertothe
documentationthatcomeswithyourrailkit.
12ThinkServerRS140UserGuideandHardwareMaintenanceManual

Table of Contents

Other manuals for Lenovo ThinkServer RS140

Related product manuals