EasyManua.ls Logo

Lenze 9300 - Page 355

Lenze 9300
524 pages
Print Icon
To Next Page IconTo Next Page
To Next Page IconTo Next Page
To Previous Page IconTo Previous Page
To Previous Page IconTo Previous Page
Loading...
Function block library
7-238
SHB9300CRV EN 2.0
Interconnection and parameter setting for the function blocks
The implementation the welding bar function requires the function block CDATA with a
correspondingly stored profile. Please select the basic configuration 11XXX. This configuration
includes - among others - the function blocks CDATA, WELD and CCTRL:
l
The cam data in CDATA determine the motion profile (path profile)of the welding bar.
l
The function block WELD controls the welding time
The welding time set in WELD-TIME, the welding bar is held in welding position, independently
of the master speed.
l
The function block CCTRL converts the path information into a rotor position at the motor.
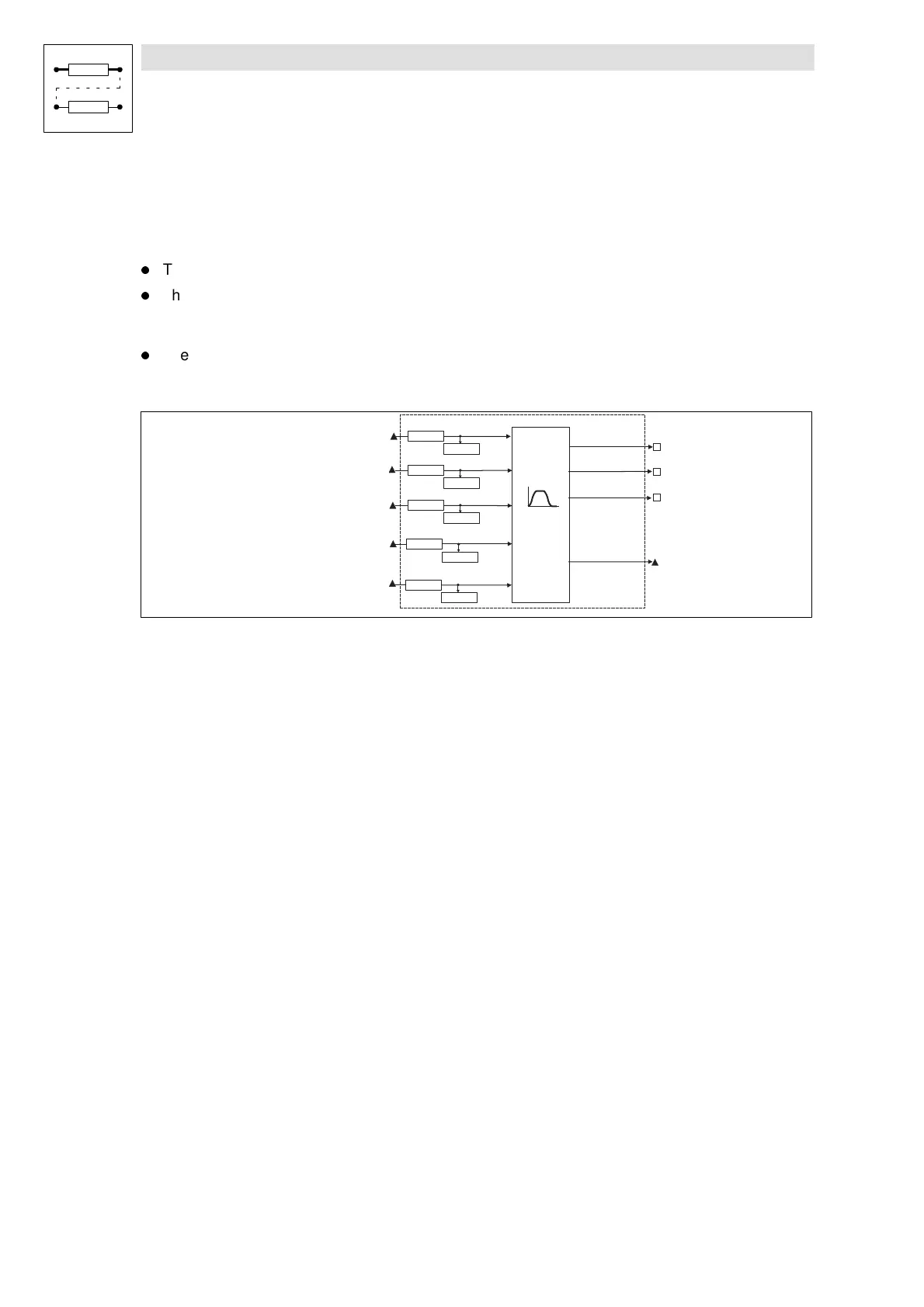
Interconnection of inputs and outputs
WELD1
W E LD 1-T-E R R
W E LD 1-X IN
W E LD 1-X O U T
W E LD 1-LE N -O
W E LD 1-LE N -C
W E LD 1-LE N
W E LD 1-O N
W E LD 1-TIM E
W E LD 1-D IR ER R
C 1444/1
C 1445/1
C 1444/5
C 1444/4
C 1444/2
C 1444/3
C 1445/2
C 1445/3
C 1445/5
C 1445/4
CTRL
Input CDATA-XIN must be selected as master value input for function block CDATA.
Show/Hide Bookmarks

Table of Contents

Other manuals for Lenze 9300

Related product manuals