EasyManua.ls Logo

LTH Electronics MXD73 - Page 399

LTH Electronics MXD73
631 pages
Print Icon
To Next Page IconTo Next Page
To Next Page IconTo Next Page
To Previous Page IconTo Previous Page
To Previous Page IconTo Previous Page
Loading...
Installation
- 12 -
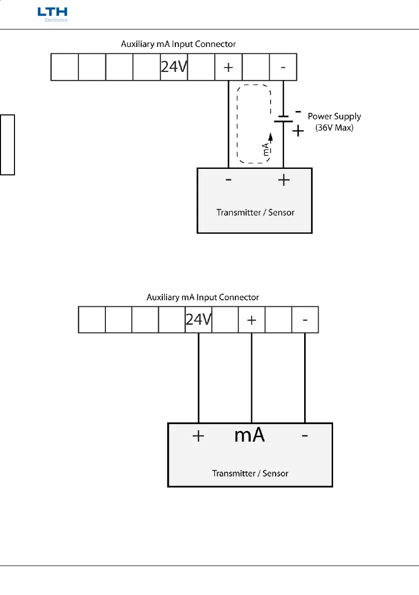
MXD70 Auxiliary mA Input
Setup and Operating Guide
Installation
Externally Powered Loop Connection Details
Loop Mode Set to “mA Input”
3 Wire Transmitter Loop Connection Details
(NB. The 24V Can Supply 30mA Max)
Loop Mode Set to “mA Input”

Table of Contents

Other manuals for LTH Electronics MXD73

Related product manuals