EasyManua.ls Logo

MAXA R407C - Installation System Figure

MAXA R407C
70 pages
Print Icon
To Next Page IconTo Next Page
To Next Page IconTo Next Page
To Previous Page IconTo Previous Page
To Previous Page IconTo Previous Page
Loading...
CD 30 ÷ 520
48
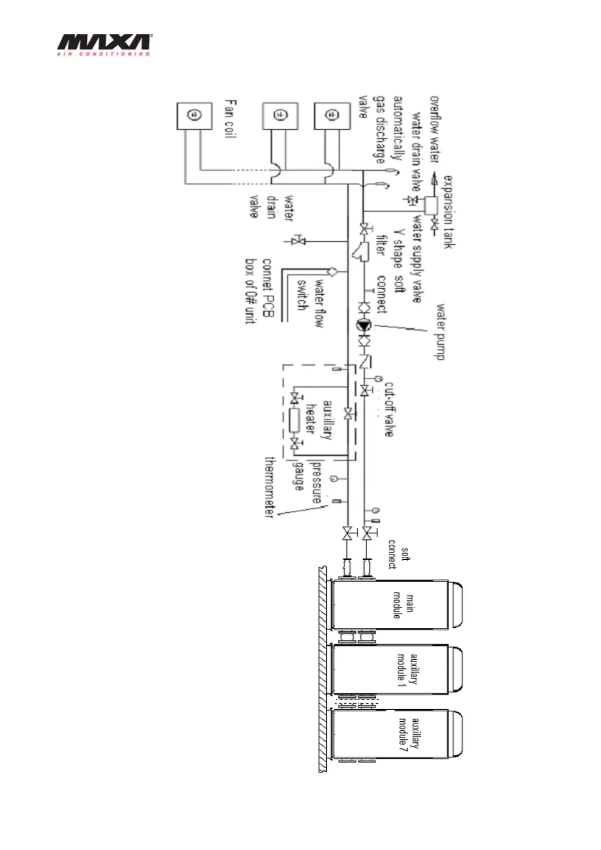
19. Installation system figure

Related product manuals