EasyManua.ls Logo

Mazda CX-3 - Page 215

Mazda CX-3
785 pages
Print Icon
To Next Page IconTo Next Page
To Next Page IconTo Next Page
To Previous Page IconTo Previous Page
To Previous Page IconTo Previous Page
Loading...
If TRIP A is reset using the trip meter
when the function which synchronizes
(resets) the fuel economy monitor and the
trip meter (TRIP A) is on, the displayed
past data is reset.
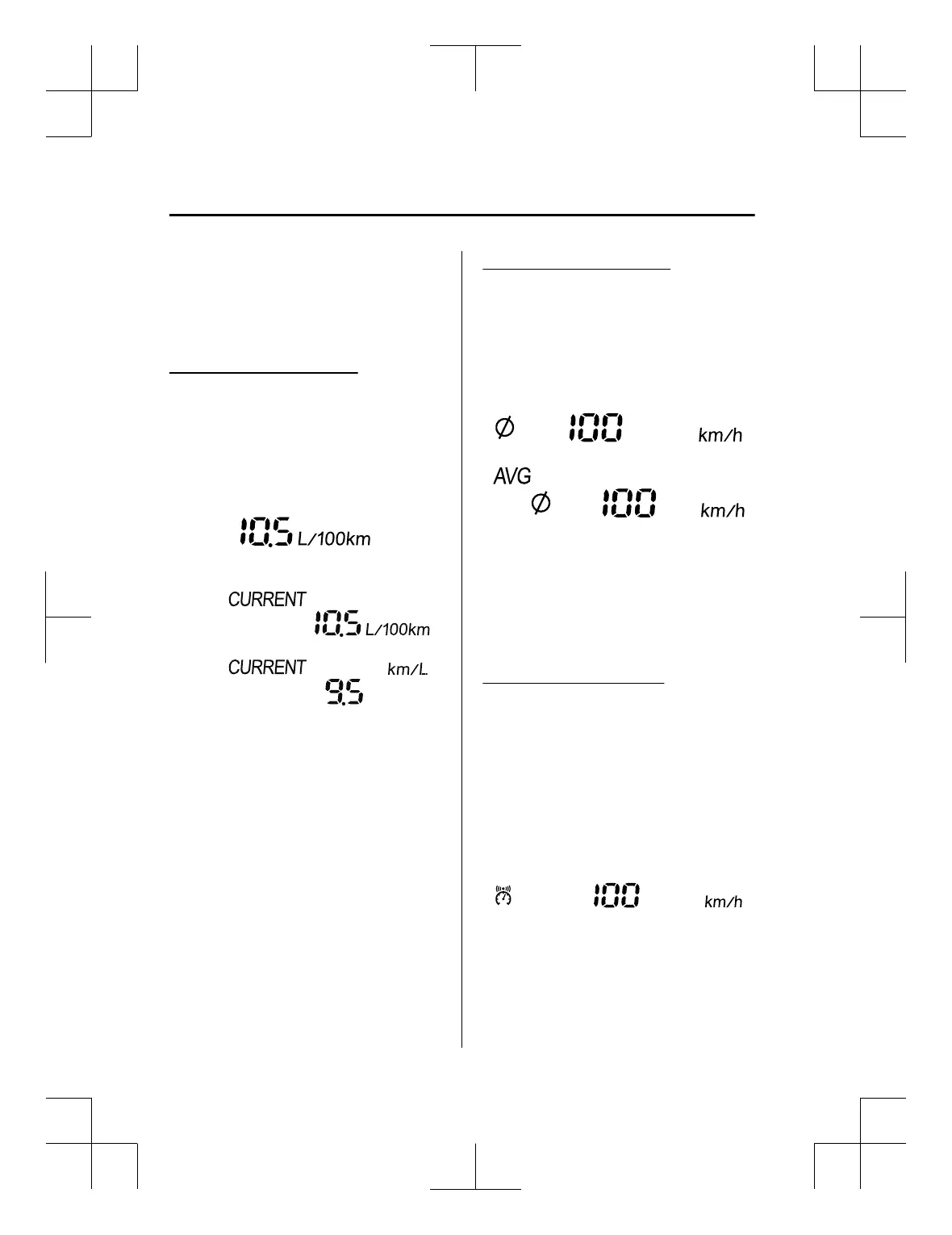
Current fuel economy mode
This mode displays the current fuel
economy by calculating the amount of fuel
consumption and the distance travelled.
Current fuel economy will be calculated
and displayed every 2 seconds.
(European model)
(Except European model)
Type A
Type B
When you have slowed the vehicle to
about 5 km/h (3 mph), - - - L/100 km (- - -
mpg) or - - - km/L will be displayed.
Average vehicle speed mode
This mode displays the average vehicle
speed by calculating the distance and the
time travelled since connecting the battery
or resetting the data.
Average vehicle speed will be calculated
and displayed every 10 seconds.
(European model)
(Except European model)
To clear the data being displayed, press the
INFO switch for more than 1.5 seconds.
After pressing the INFO switch, - - - km/h
(- - - mph) will be displayed for about 1
minute before the vehicle speed is
recalculated and displayed.
Vehi cle spe ed a lar m m o d e
*
In this mode, the current setting for the
vehicle speed alarm is displayed. You can
change the vehicle speed setting at which
the warning is triggered.
NOTE
The vehicle speed alarm display is
activated at the same time the beep sound
is heard. The set vehicle speed flashes
several times.
The vehicle speed alarm can be set using
the centre display.
When Driving
Instrument Cluster and Display
4-30
*Some models.
CX-3_8GT4-EE-18D_Edition8_old 2019-11-14 12:53:52

Table of Contents

Other manuals for Mazda CX-3

Related product manuals