EasyManua.ls Logo

McIntosh MC275 - Unpacking and Initial Setup; Foam Insert Removal

McIntosh MC275
22 pages
Print Icon
To Next Page IconTo Next Page
To Next Page IconTo Next Page
To Previous Page IconTo Previous Page
To Previous Page IconTo Previous Page
Loading...
MC275
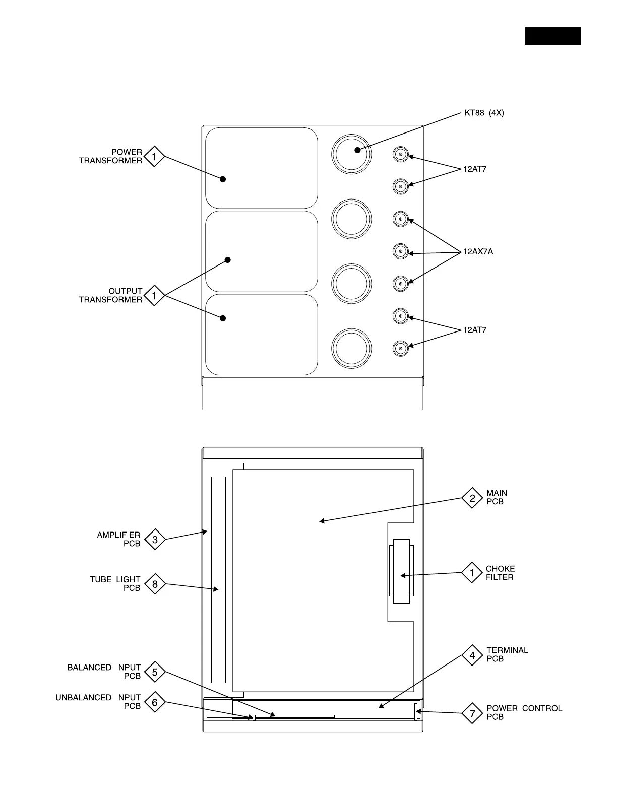
SECTION LOCATIONS
3

Other manuals for McIntosh MC275

Related product manuals