EasyManua.ls Logo

Mendota ML47-PF2 - Page 40

Mendota ML47-PF2
68 pages
Print Icon
To Next Page IconTo Next Page
To Next Page IconTo Next Page
To Previous Page IconTo Previous Page
To Previous Page IconTo Previous Page
Loading...
40 | P a g e
.
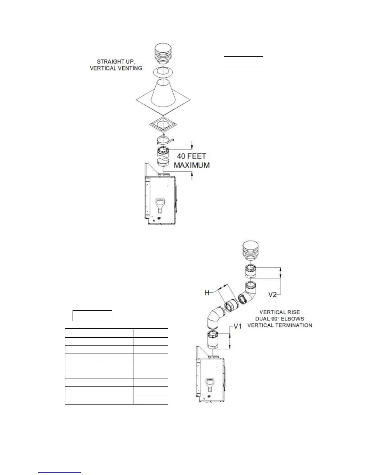
V1 min
H max
V2 max
18 in.
6 in.
38-1/2 ft.
24 in.
6 ft.
34 ft.
30 in.
13 ft.
27 ft.
36 in.
19 ft.
21 ft.
42 in.
25-1/2 ft.
14-1/2 ft.
48 in.
32 ft.
10 ft.
4 ft. - 10 ft.
32 ft.
Varies
10 ft. - 40 ft.
Varies
Varies
Figure 19
Figure 18

Table of Contents

Related product manuals