EasyManua.ls Logo

Meritor MS-113 - Ring Gear Backlash Adjustment

Meritor MS-113
45 pages
Print Icon
To Next Page IconTo Next Page
To Next Page IconTo Next Page
To Previous Page IconTo Previous Page
To Previous Page IconTo Previous Page
Loading...
Section 4
Assembly and Installation
Maintenance Manual MM-0230 Copyright 2002
Issued 07-02 ArvinMeritor, Inc. Page 23
3. Rotate the differential and ring gear. Read
the dial indicator. Runout must not exceed
0.008-inch (0.200 mm).
O If runout exceeds the specification above:
Remove the differential and ring gear
assembly from the carrier. Refer to
Section 2 and Steps 4-5 below.
O If runout is within specification: Proceed to
Ring Gear Backlash in this section.
4. Check the differential parts including the
carrier for wear and damage. Repair or replace
parts as necessary.
5. Install the differential and ring gear into the
carrier. Repeat the preload adjustment of the
differential bearings.
Ring Gear Backlash
Specifications
After checking the tooth contact patterns, the
backlash can be adjusted within specification
limits, if needed. To change the location of the
pattern, use the following procedures.
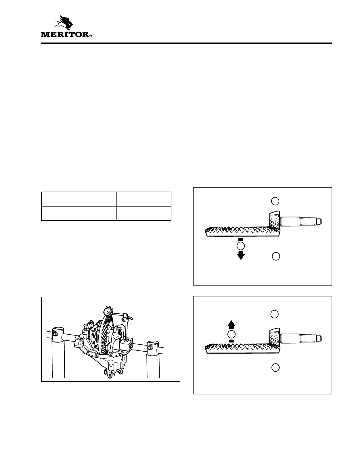
1. Attach a dial indicator onto the mounting
flange of the carrier. Figure 4.19.
2. Adjust the dial indicator so that the plunger or
pointer is against the tooth surface.
3. Adjust the dial indicator to ZERO. Hold the
drive pinion in position.
4. After reading the dial indicator, rotate the
differential and ring gear a small amount in
both directions against the drive pinion teeth.
O If the backlash reading is within
specification: Check the tooth contact
patterns.
O If the backlash reading is not within
specification: Adjust backlash as necessary.
5. Loosen one bearing adjusting ring one notch,
then tighten the opposite ring the same
amount. Figures 4.20 and 4.21.
O To increase backlash: Move the ring gear
away from the drive pinion.
O To decrease backlash: Move the ring gear
toward the drive pinion.
Backlash setting range for
old gear sets
0.008-0.018-inch
(0.20-0.46 mm)
Backlash setting for new
gear sets
0.005-0.015-inch
(0.13-0.38 mm)
Figure 4.19
Figure 4.20
1 Tighten adjusting ring this side.
2 Increase backlash.
3 Loosen adjusting ring this side.
Figure 4.21
1 Loosen adjusting ring this side.
2 Decrease backlash.
3 Tighten adjusting ring this side.
1
2
3
1
2
3

Table of Contents

Related product manuals