EasyManua.ls Logo

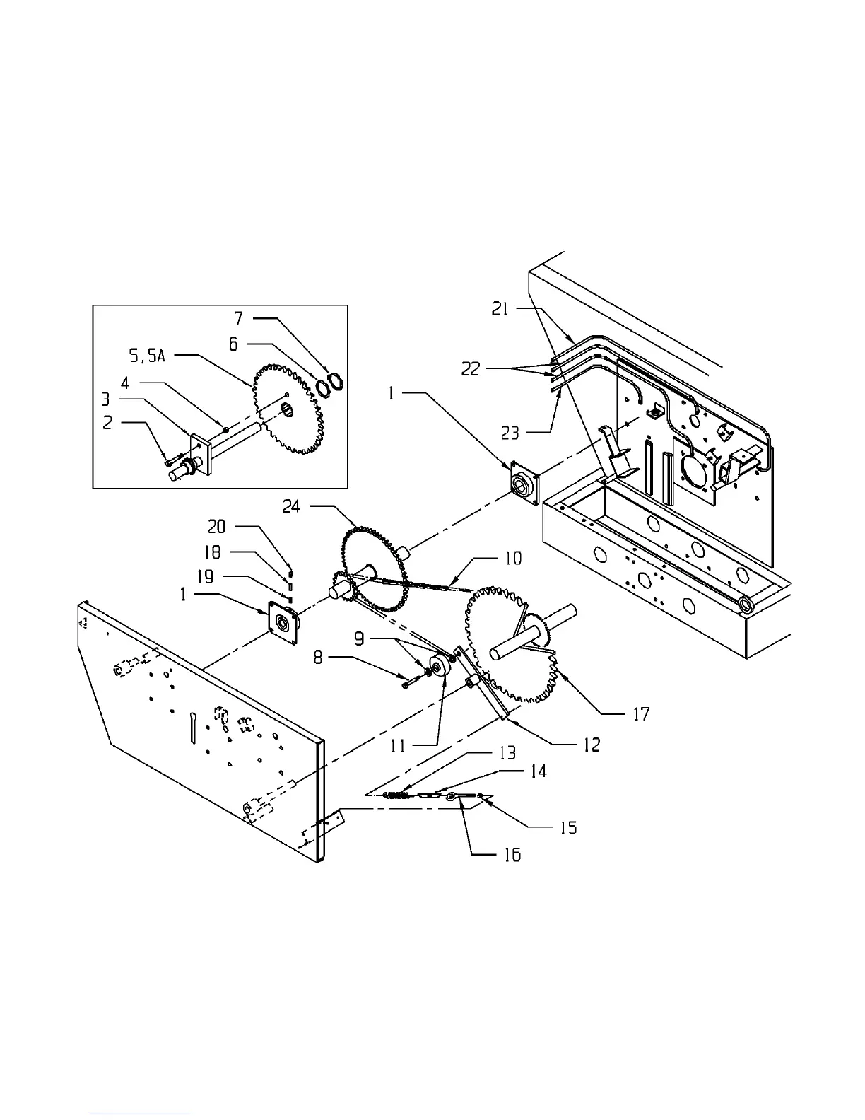
Meyer 7200 - Auger Drive Second Reduction

Default Icon
60 pages
Print Icon
To Next Page IconTo Next Page
To Next Page IconTo Next Page
To Previous Page IconTo Previous Page
To Previous Page IconTo Previous Page
Loading...
Model 7200 -32-
AUGER DRIVE SECOND REDUCTION
UNITS WITH SHEAR SPROCKET ASSEMBLY.
SEE FOLLOWING PAGE FOR SN’S.

Related product manuals