EasyManua.ls Logo

Midea UR-BCD280WE-DQ - Circuit Diagram

Midea UR-BCD280WE-DQ
46 pages
Print Icon
To Next Page IconTo Next Page
To Next Page IconTo Next Page
To Previous Page IconTo Previous Page
To Previous Page IconTo Previous Page
Loading...
Service Manual, 2016-12
15 / 46
Thermal fuse
Cant be restored
77
o
C
Defrosting heater in freezing chamber
Steel pipe
115V/200W
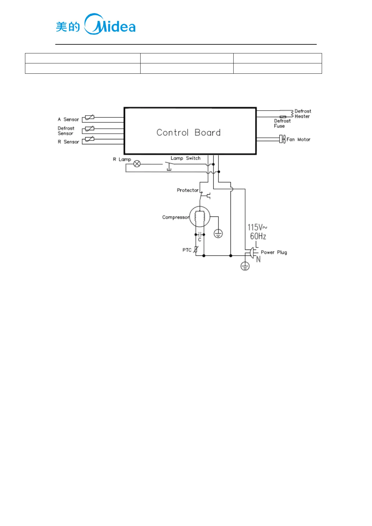
5.5Circuit diagram

Table of Contents

Related product manuals