EasyManua.ls Logo

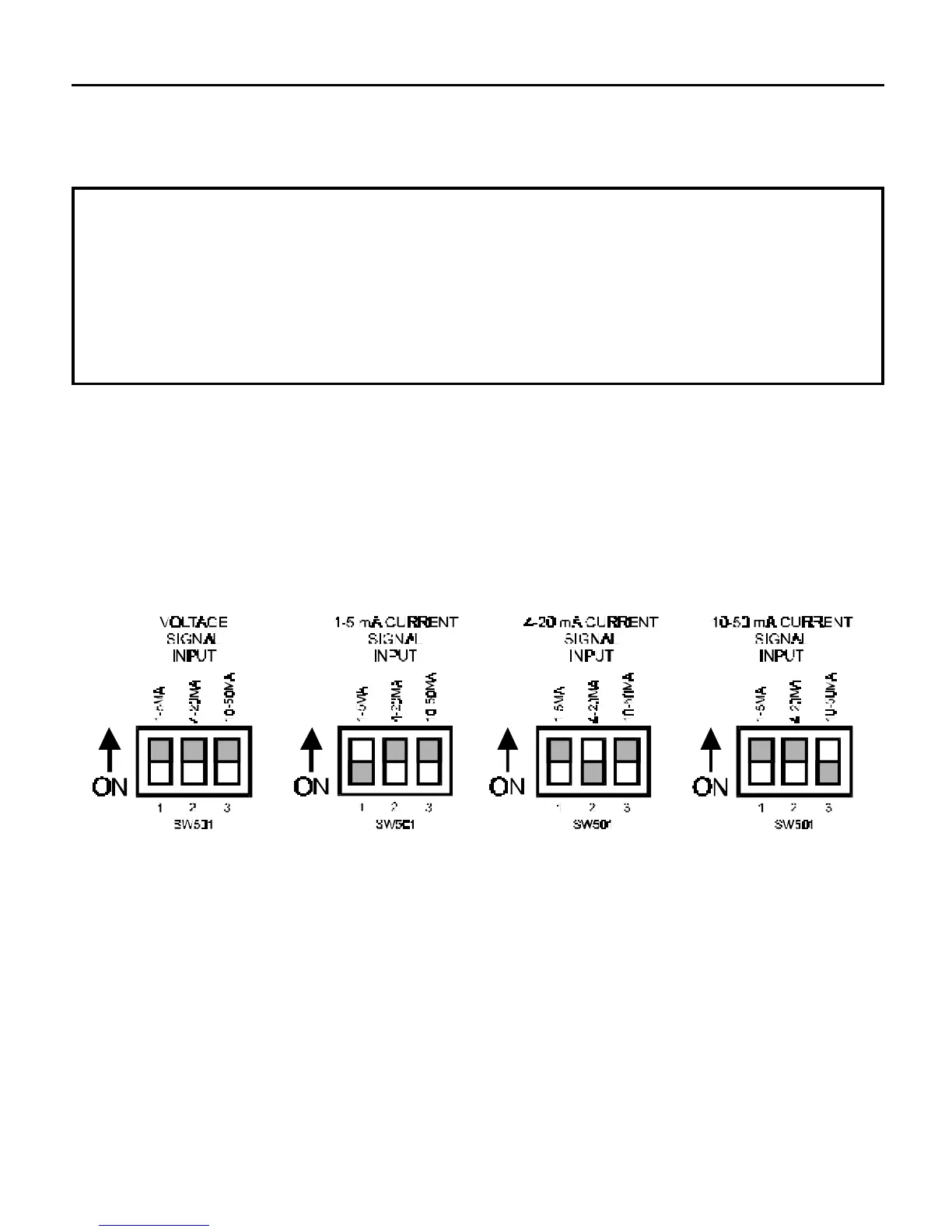
Minarik PCM4 - DIP Switches; Figure 13. DIP Switch Settings

Default Icon
40 pages
Print Icon
To Next Page IconTo Next Page
To Next Page IconTo Next Page
To Previous Page IconTo Previous Page
To Previous Page IconTo Previous Page
Loading...
23
Calibration
Each DIP switch selects the range for input current following.
DIP switch 1 is for 1 – 5 mA input, DIP switch 2 is for
4 – 20 mA input, and DIP switch 3 is for 10 – 50 mA input.
Warning
Only one DIP switch should be ON at a time and only when
the PCM4 is set up to follow a current signal. All three DIP
switches must be OFF when following a voltage signal.
m
Figure 13. DIP Switch Settings
DIP switches