EasyManua.ls Logo

Mitsubishi Electric AJ65BT-D62 - Installation and Pre-Operation Setting Procedure; 4.1 Pre-Operation Setting Procedure

Mitsubishi Electric AJ65BT-D62
146 pages
To Next Page IconTo Next Page
To Next Page IconTo Next Page
To Previous Page IconTo Previous Page
To Previous Page IconTo Previous Page
Loading...
MELSEC-A
4. INSTALLATION AND PRE-OPERATION SETTING PROCEDURE
4 - 1
4. INSTALLATION AND PRE-OPERATION SETTING PROCEDURE
This chapter describes the pre-operation procedure of the high-speed counter
module, the names and settings of each part, and the wiring method.
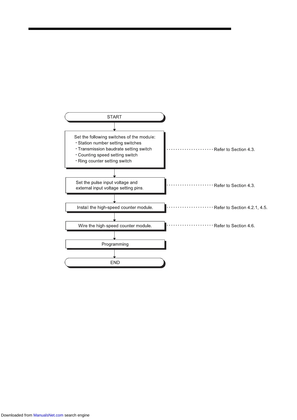
4.1 Pre-Operation Setting Procedure
Use the following procedure to make pre-operation setting for the high-speed counter
module.
Downloaded from ManualsNet.com search engine

Table of Contents

Related product manuals