EasyManua.ls Logo

Mitsubishi QD75P1N - Page 421

Mitsubishi QD75P1N
858 pages
To Next Page IconTo Next Page
To Next Page IconTo Next Page
To Previous Page IconTo Previous Page
To Previous Page IconTo Previous Page
Loading...
9 - 105
MELSEC-Q
9 MAJOR POSITIONING CONTROL
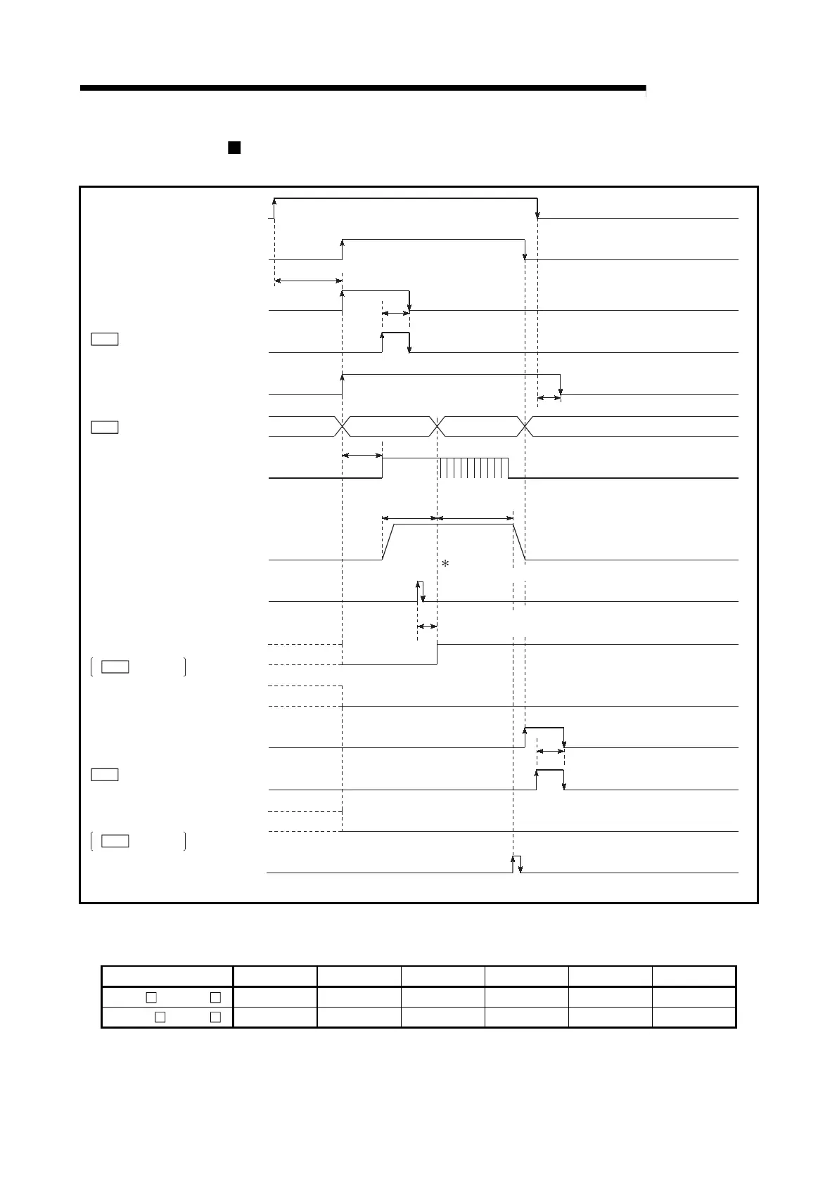
Operation timing and processing time during position-speed switching
control
Standby Stopped
Axis operation status
M code OFF request
Positioning operation
t1
t2
t3
t4
t2
t6
Positioning start signal
[Y10,Y11,Y12,Y13]
BUSY signal [XC,XD,XE,XF]
M code ON signal [X4,X5,X6,X7]
(WITH mode)
Start complete signal
[X10,X11,X12,X13]
Output pulse to external source
(PULSE)
External position-speed switching
command
Positioning complete signal
[X14,X15,X16,X17]
M code ON signal [X4,X5,X6,X7]
(AFTER mode)
M code OFF request
OPR complete flag
Status: b4
Stop signal
[STOP]
Speed control command speed is from the input position of
the external position-speed switching signal.
Position control carried out until position-speed switching
signal turns ON.
Speed
control
Position
control
Position control Speed control
Cd. 7
Md.31
Md.26
Cd. 7
Position-speed switching latch flag
Status: b5
Md.31
Fig. 9.19 Operation timing and processing time during position-speed switching control
Normal timing time
Model t1 t2 t3 t4 t5 t6
QD75P N/QD75D N 0.2 to 1.1ms 0 to 0.9ms 0 to 0.9ms 0.4 to 1.3ms - 1.0ms
QD75P /QD75D 1.0 to 1.4ms 0 to 1.8ms 0 to 1.8ms 2.7 to 4.4ms - 1.0ms
The t1 timing time could be delayed by the operation state of other axes.

Table of Contents

Related product manuals