EasyManua.ls Logo

Mitsubishi QD75P1N - Page 67

Mitsubishi QD75P1N
858 pages
To Next Page IconTo Next Page
To Next Page IconTo Next Page
To Previous Page IconTo Previous Page
To Previous Page IconTo Previous Page
Loading...
3 - 7
MELSEC-Q
3 SPECIFICATIONS AND FUNCTIONS
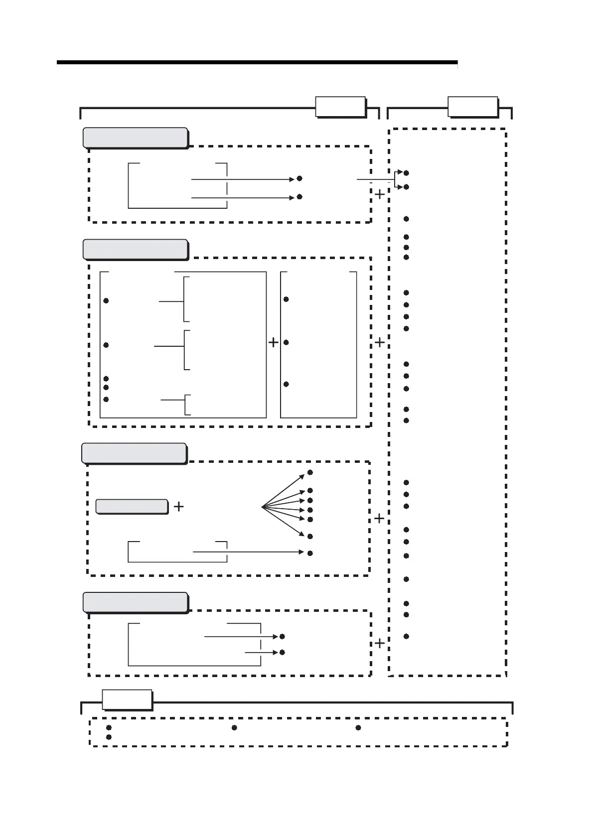
Position control
•1-axis linear control
•2-, 3-, or 4-axis linear
interpolation control
•1-axis fixed-feed control
•2-, 3-, or 4-axis fixed-feed
control
•2-axis circular interpolation
control
Main functions
Sub functions
OPR control
Control registered in QD75
[Positioning start No.]
[9002]
[9001]
Machine OPR
Fast OPR
(Functions characteristic to
machine OPR)
OP shift function
<Functions that compensate
control>
<Functions that limit control>
Speed limit function
Torque limit function
Software stroke limit function
Hardware stroke limit function
<Functions that change
control details>
Speed change function
Override function
Acceleration/deceleration
time change function
Torque change function
<Absolute position restoration
function>
<Other functions>
Step function
Skip function
Continuous operation
interrupt function
M code output function
Teaching function
Target position change
function
Command in-position
function
Acceleration/deceleration
processing function
Pre-reading start function
Stop command processing
for deceleration stop function
Backlash compensation
function
Near pass function
Output timing selection of
near pass control
Major positioning control
Control using "Positioning data"
<Control system>
<Operation pattern>
High-level positioning control
[Block start data
Block start
(Normal start)
Condition start
Wait start
Simultaneous start
Repeated start
(FOR loop)
Repeated start
(FOR condition)
Multiple axes
simultaneous start
control
Manual control
ol with signals input from external source
Common
functions
[Positioning start signal]
JOG start signal ON
JOG operation, Inching
operation
Other control
Speed-position switching control
Position-speed switching control
[Positioning start No.]
[9004]
Speed control
•1-axis linear control
•2-axis linear interpolation
control
•3-axis linear interpolation
control
•4-axis linear interpolation
control
•Current value changing,
NOP instruction
•JUMP instruction,
LOOP to LEND
Independent
positioning control
(Positioning complete)
Continuous
positioning control
Continuous path
control
Control using "positioning data"
+ "Block start data"
Major positioning control
Pulse input from manual pulse
generator
Manual pulse generator
operation
Parameter initialization function Execution data backup function External I/O logic switching function
External I/O signal monitor function
OPR retry function
Electronic gear function
Deceleration start flag
function

Table of Contents

Related product manuals