EasyManua.ls Logo

Morgana DigiFold Pro - Setup and Configuration

Morgana DigiFold Pro
63 pages
Print Icon
To Next Page IconTo Next Page
To Next Page IconTo Next Page
To Previous Page IconTo Previous Page
To Previous Page IconTo Previous Page
Loading...
Page10
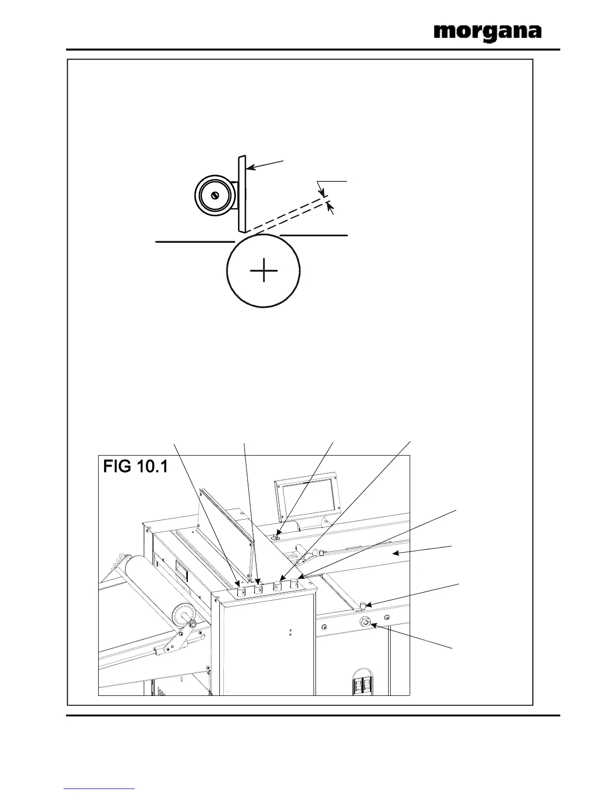
Adjustable
SideLay
Suction
SlotKnob
Vacuum
BleedKnob
FOLDING
J
TWOTHICKNESSES
OFPAPER
WARNING.
DONOTADJUSTTHE
PAPERGATEWHILETHE
MACHINEISRUNNINGOR
THESUCTIONDRUMMAY
BECOMEDAMAGED.
AdjustingthePaperGate
SettheheightofthePaperGatetoapproximatelytwothicknessesofpaper,byturningthe
discj.Anexcessivegapisamostlikelycauseofdoublesheetfeeding.
Thissettingisonlyintendedasaguide,forinstance,sheetswithanupwardcurlwill
requirethissettingtobeincreased.
BladeTilt
Knob
RollerGap1
Knob
RollerGap2
Knob
RollerGap3
Knob
AirSeperation
Knob
SettingtheSuctionSlot
Thesuctionslotislocatedinsidethevacuumrollerandcanbeadjustedbyreleasingand
movingthesuctionknobhorizontallyineitherdirectiontotherequiredposition.
Forlightstockssettheknobtotheleftandforheavierstockssettheknobtotheright.
OperatingtheDigiFoldPro

Related product manuals