EasyManua.ls Logo

Morgana UFO - Page 15

Morgana UFO
29 pages
Print Icon
To Next Page IconTo Next Page
To Next Page IconTo Next Page
To Previous Page IconTo Previous Page
To Previous Page IconTo Previous Page
Loading...
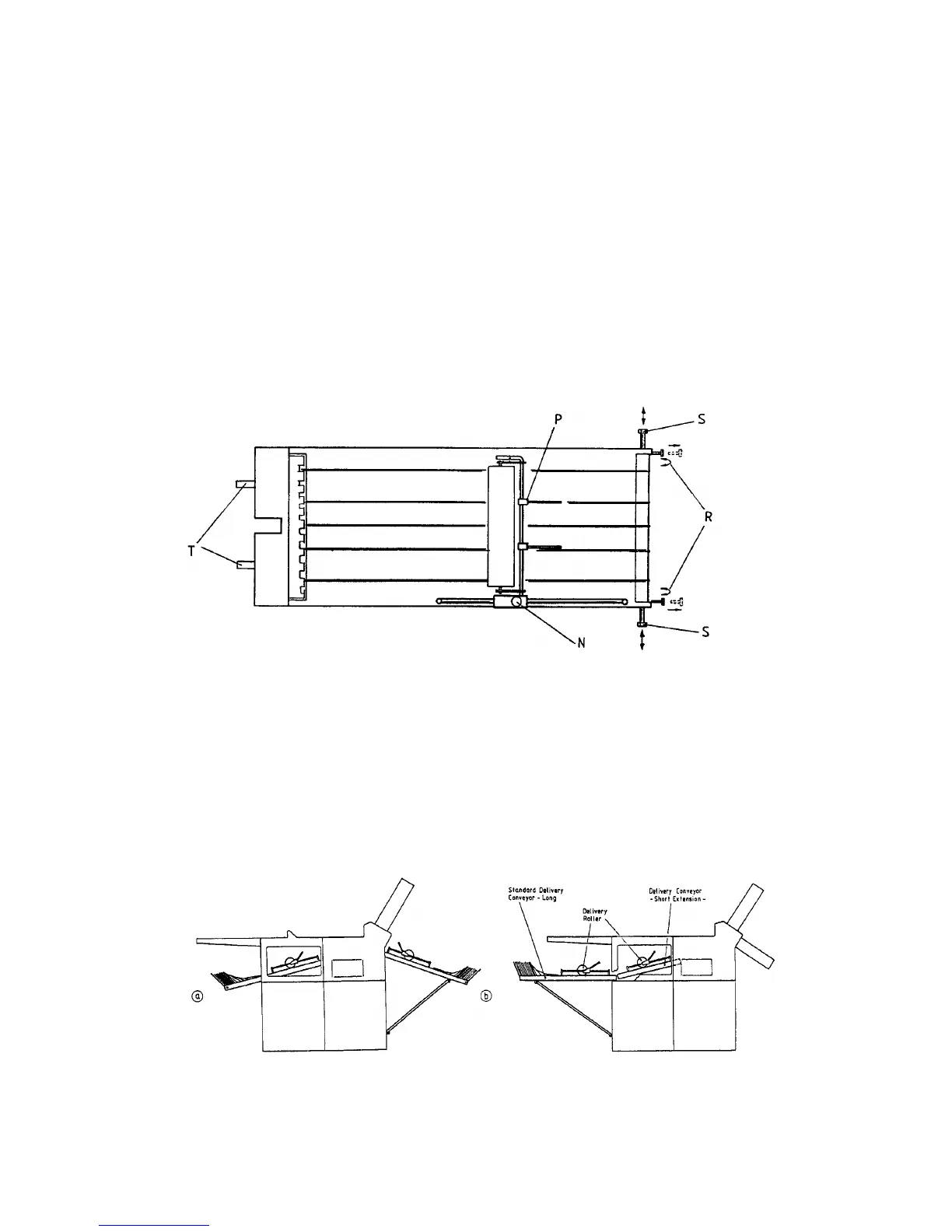
Once out of the machine, the delivery conveyor may be adjusted to fit a wider or
narrower machine, for example, when changing from a UFO1 to a crossfold unit.
This is achieved by removing-knobs (R) and sliding the spindles (S) in or out as
desired, finally replacing
knobs (R) tightly.
The delivery is designed to fit at either end of the machine, depending on whether
the work is required to be delivered (as normal) underneath (a), or alternatively, out
of the swing up perforating unit to position (b).
Position (b) is used for perforating, scoring and when folding heavy stocks that
would otherwise be curled when delivering to position (a).
When used in position (b), the support hoop is used to support the delivery, and only
the first plate is used.
A short extension delivery (part no. L59) is available and may be used in any
position.
When used beneath the UFO, the standard delivery can be used to extend the
delivery point to beyond the UFO loading table.
13

Related product manuals