EasyManua.ls Logo

Morris C2 Contour - Page 50

Morris C2 Contour
92 pages
Print Icon
To Next Page IconTo Next Page
To Next Page IconTo Next Page
To Previous Page IconTo Previous Page
To Previous Page IconTo Previous Page
Loading...
Operation
5-20 August 2014 C2 Contour Air Drill
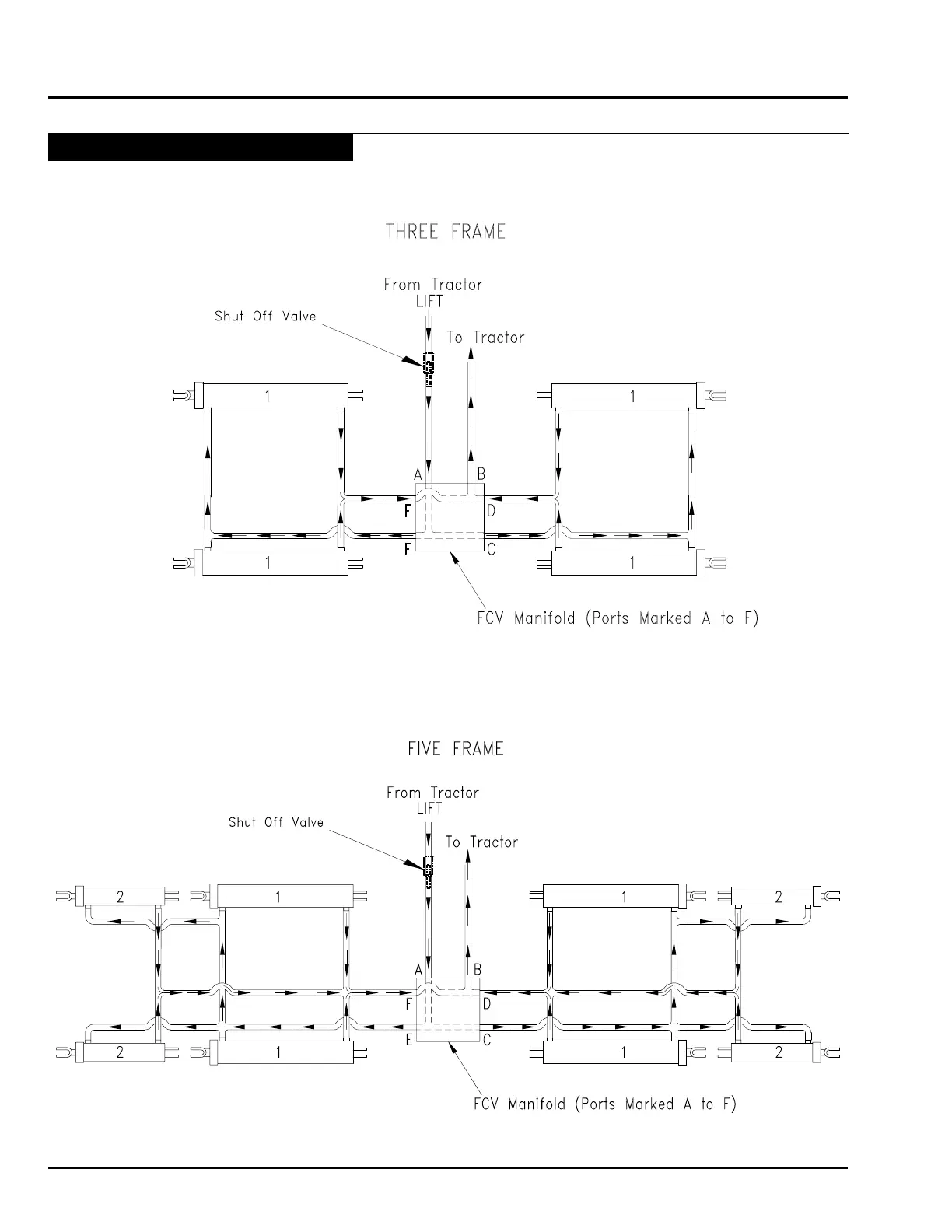
Wing Lift Hydraulics - Continued
Three Frame Models
Five Frame Models

Table of Contents

Related product manuals