EasyManua.ls Logo

Motorola IMPRES Series - Page 244

Motorola IMPRES Series
252 pages
To Next Page IconTo Next Page
To Next Page IconTo Next Page
To Previous Page IconTo Previous Page
To Previous Page IconTo Previous Page
Loading...
–ÛÒÒÍËÈ
22
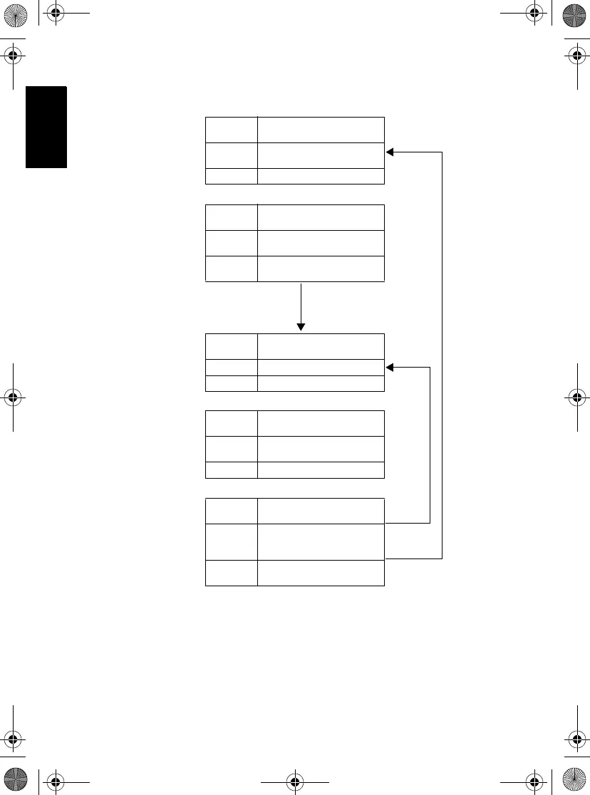
До калибровки:
Индикатор Отражает состояние заряда
аккумулятора
Строка 1 KIT# xxxxxxxx
(КОМПЛЕКТ№ xxxxxxxx)
Строка 2 SN: yyyyyyyyyyyy
Индикатор Отражает состояние заряда
аккумулятора
Строка 1 KIT# xxxxxxxx
(КОМПЛЕКТ№ xxxxxxxx)
Строка 2 yyyyy CHEMISTRY
(ТИП ЭЛЕКТРОЛИТА yyyyy)
Индикатор Постоянно горит
ОРАНЖЕВЫМ
Строка 1 DISCHARGE (РАЗРЯДКА)
Строка 2
Индикатор Отражает состояние заряда
аккумулятора
Строка 1 CALIBRATING
(КАЛИБРОВКА)
Строка 2 BATTERY (АККУМУЛЯТОРА)
Индикатор Отражает состояние заряда
аккумулятора
Строка 1 RAPID CHG ENDS
(ОКОНЧАНИЕ БЫСТРОЙ
ЗАРЯДКИ)
Строка 2 IN xx HRS, yy MIN
(ЧЕРЕЗ xx Ч, yy МИН)
‡Ê‰˚Â
71,0 c
«‡ÔÛÒÍ
(4,0 c)
(2,0 c)
(2,0 c)
(7,0 c)
(4,0 c)
‡Ê‰˚Â
13,0 c
5X
65,0 c
6866537D22.book Page 22 Wednesday, March 23, 2016 12:53 PM

Table of Contents

Related product manuals