EasyManua.ls Logo

Motorola IMPRES Series - Page 245

Motorola IMPRES Series
252 pages
To Next Page IconTo Next Page
To Next Page IconTo Next Page
To Previous Page IconTo Previous Page
To Previous Page IconTo Previous Page
Loading...
–ÛÒÒÍËÈ
23
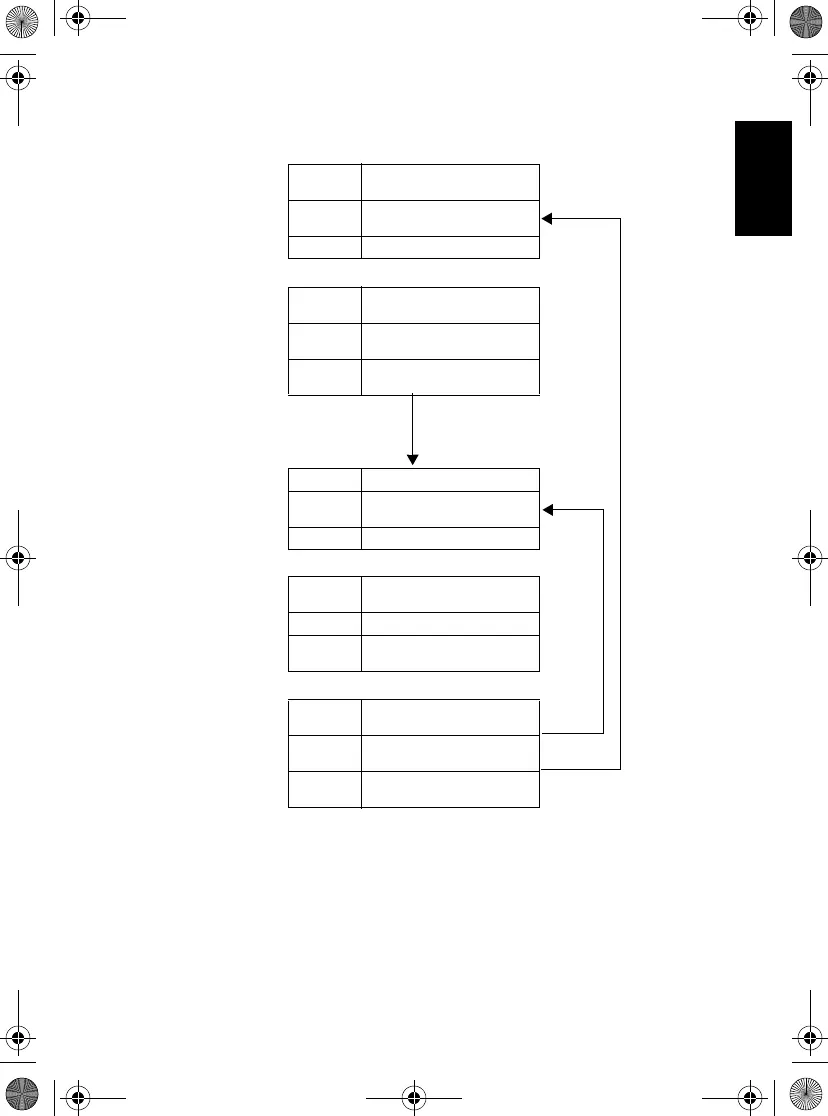
После калибровки:
Индикатор Отражает состояние заряда
аккумулятора
Строка 1 KIT# xxxxxxxx
(КОМПЛЕКТ№ xxxxxxxx)
Строка 2 SN: yyyyyyyyyyyy
Индикатор Отражает состояние заряда
аккумулятора
Строка 1 KIT# xxxxxxxx
(КОМПЛЕКТ№ xxxxxxxx)
Строка 2 yyyyy CHEMISTRY
(ТИП ЭЛЕКТРОЛИТА yyyyy)
Индикатор Постоянно горит ЗЕЛЕНЫМ
Строка 1 CHARGE COMPLETE
(ЗАРЯДКА ЗАВЕРШЕНА)
Строка 2
Индикатор Отражает состояние заряда
аккумулятора
Строка 1 BATTERY (АККУМУЛЯТОР)
Строка 2 CALIBRATED
(ОТКАЛИБРОВАН)
Индикатор Отражает состояние заряда
аккумулятора
Строка 1 xx% RATED CAP. (xx%
НОМИНАЛЬНОЙ ЕМКОСТИ)
Строка 2 yyyyy mAH zz.z V
(yyyyy мА, zz.z В)
«‡ÔÛÒÍ
(4,0 c)
(2,0 c)
(2,0 c)
(2,0 c)
(7,0 c)
‡Ê‰˚Â
61,0 c
‡Ê‰˚Â
11 c
5X
55,0 c
6866537D22.book Page 23 Wednesday, March 23, 2016 12:53 PM

Table of Contents

Related product manuals