EasyManua.ls Logo

MTD 1332G - 1332 G; 32 Spindle Assembly

MTD 1332G
24 pages
Print Icon
To Next Page IconTo Next Page
To Next Page IconTo Next Page
To Previous Page IconTo Previous Page
To Previous Page IconTo Previous Page
Loading...
8
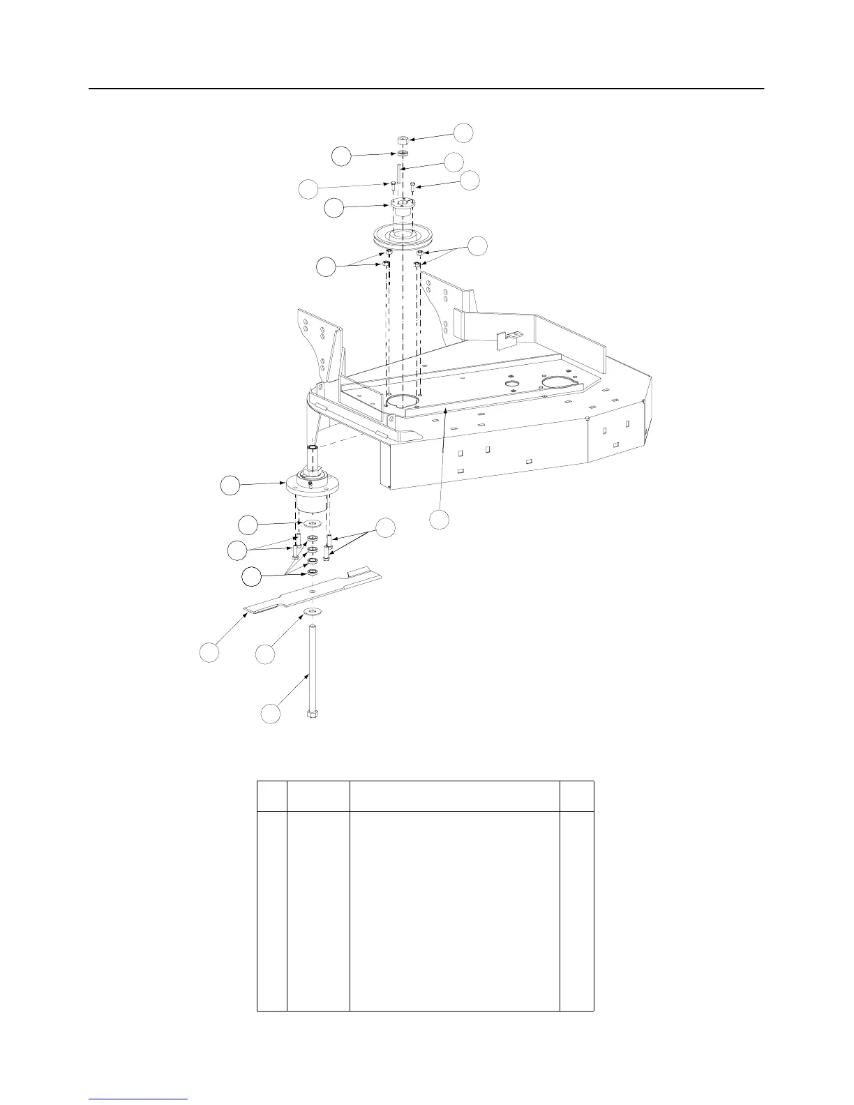
1332G / 32" Spindle Assembly
- Figure 4 & Parts List
Ref.
No. Part No. Description Qty.
1 00002766 Flat Washer, 1-1/2 x 5/8 x .05 1
2 00011444 Hex Cap Screw, 3/8-16 x 1-1/4 4
3 00011807 Hex Nut, 5/8-11 1
4 00013091 Hex Cap Screw, 5/8-11 x 9-1/2 1
5 00013131 Hex Cap Screw, 1/4-20, .75 2
6 00013432 Flat Washer, 5/8 Zinc 1
7 00021517 Key Stick, 1/4 x 1/4 x 2 1
8 00021871 Rotary Blade, 16-1/2 1
9 00021924 Blade Spacer, 5/8 ID, 1/4 Thick 5
10 00021973 Bushing 1
11 00034224 Lock Nut, 3/8-16 4
12 00057412 Spindle Assembly 1
13 01005048 Deck Stiffener 1
6
8
9
12
1
13
10
9
5
11
11
2
2
4
5
7
3

Related product manuals