EasyManua.ls Logo

Multiplex Royal SX 9 - Mixers (Mixer ELEVATR+ ); Adjusting Elevator, Activating Elevator Mixers (Mixer ELEVATR+); Spoiler to Elevator = Spoiler Compen-Sation; (Spoiler Input to ELEVATR+ Mixer)

Multiplex Royal SX 9
113 pages
Print Icon
To Next Page IconTo Next Page
To Next Page IconTo Next Page
To Previous Page IconTo Previous Page
To Previous Page IconTo Previous Page
Loading...
Manual
39
12.7. Adjusting elevator, activating ele-
vator mixers
(Mixer ELEVATR+)
In the template 4 FLAPS the elevator servo is already
assigned to the mixer ELEVATR+. Various mixers are
added to the signal in order to compensate for un-
wanted trim changes (e.g. from Spoiler or Throttle).
This is how the mixer is defined:
¡Define mixer
¨Exit
Name ELEVATR+
1 Elevator ON š
2 Spoiler ON œ
3 Flap ON š
4 Thr -Tr ON -
5 -------- --- ---
12.7.1. Spoiler to elevator = Spoiler compen-
sation
(Spoiler input to ELEVATR+ mixer)
When the spoilers are extended (or when Butterfly is
activated), many models require elevator trim correc-
tion.
The default method of working of the Spoiler input in
the elevator mixer is single-sided with two curve
points (œ). Point 2 (pt2) defines the elevator deflection
at full extension of Spoiler / Butterfly (57%). Point 1
(pt1) is generally set to half of Point 2 (pt1 = 28%) to
ensure that response to the control is linear.
If the effect of the spoilers themselves is non-linear,
then non-linear travel can be set to compensate for
this. For instance, Point 1 (pt1) could be set to or
¼ of Point 2 (pt2) to obtain this effect:
£5x Mixer.ELEVATR+
¨Exit
œ pt1 pt2
Elevator 100% 100% *
Spoiler 28% 57% *
Flap OFF OFF *
Thr -Tr OFF OFF *
-------------------
12.7.2. Throttle to elevator = Throttle compen-
sation
(Thr -Tr input to ELEVATR+ mixer)
Many models tend to balloon up when the throttle is
opened (incorrect downthrust setting); this can be cor-
rected using down-elevator (stick forward).
The default method of working of the Throttle input in
the elevator mixer is single-sided with deadband (-).
If down-elevator correction is only required after, say,
about the 1/3 throttle point, set 33% as deadband:
£5x Mixer.ELEVATR+
¨Exit
œ- dead trv
Elevator 100% 100% *
Spoiler 20% 57% *
Flap OFF OFF *
Thr -Tr 33% OFF *
-------- ---- ----
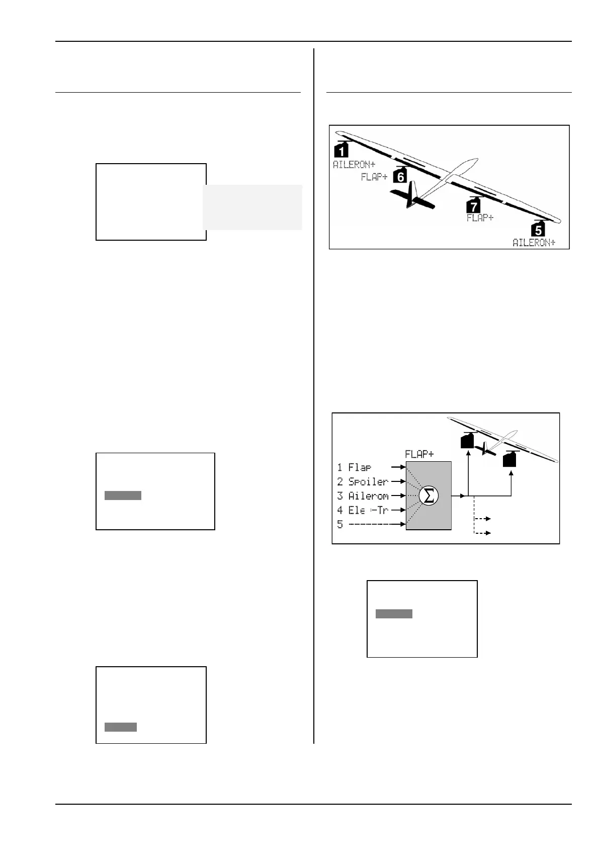
12.8. Activating inboard flaps (camber-
changing flaps)
(Mixer FLAP+)
In the template 4 FLAPS servos 6 and 7 are assigned
to the FLAP+ mixer (camber-changing flap):
Fig. 12.8.1.: Four-flap wing
This mixer can be used to implement the following
functions:
Butterfly (Crow)
as glide path control or landing aid
Camber-changing flaps
for modifying the wing airfoil (thermal, speed)
Aileron support for better manoeuvrability
Snap-Flap (elevator to flap)
e.g. for aerobatics.
The structure of the FLAP+ mixer:
6
7
Mixer
input
Nr. Name
Mixer
name
Further servos
if required
Fig. 12.8.2.: The FLAP+ mixer in principle
These are the default settings for the FLAP+ mixer:
£5x Mixer.FLAP+
¨Exit
š trv' trv#
Flap OFF OFF *
Spoiler OFF 100% *
Aileron OFF OFF *
Ele -Tr OFF OFF --
-------- ---------
In this mixer the Spoiler input is assigned a default
value of 100% travel (for Butterfly). All the other inputs
are OFF.
How the inputs work:
asymmetrical
single-sided, two curve points
asymmetrical
single-sided, with deadband

Table of Contents

Related product manuals