EasyManua.ls Logo

MUTOH VJ-1324 - Page 47

MUTOH VJ-1324
212 pages
Print Icon
To Next Page IconTo Next Page
To Next Page IconTo Next Page
To Previous Page IconTo Previous Page
To Previous Page IconTo Previous Page
Loading...
VJ-1324 OPERATION MANUAL 3 Before using
3-29
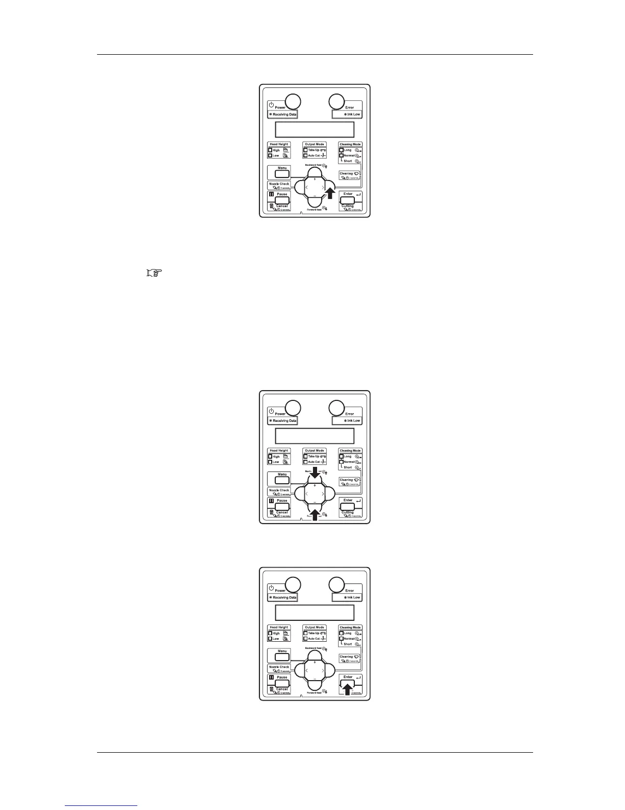
"Test1: Nozzle Check" is displayed on the operation panel.
The display shifts to the Test Print menu.
5.2 Test Print Menu
4. Press the [+] key or [–] key on the operation panel to select an item for printing from the following
items.
Nozzle Check
•Mode Print
Setup List
5. Press the [Enter] key on the operation panel.
Start performing Test Print for the selected item.

Other manuals for MUTOH VJ-1324

Related product manuals