EasyManua.ls Logo

NAD 300 - Tuner Front-End

NAD 300
45 pages
Print Icon
To Next Page IconTo Next Page
To Next Page IconTo Next Page
To Previous Page IconTo Previous Page
To Previous Page IconTo Previous Page
Loading...
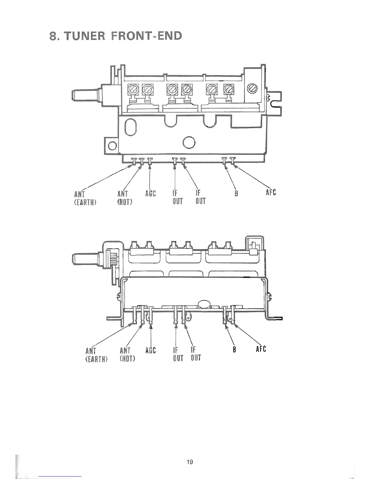
8.
TUNER
FRONT-END
(EA
RTll)
GOT)
A
(TART1l)
OUT
OUT
A 1{T
(]lOT)
OUT
It
OUT
19

Related product manuals