Home
NAD
Receiver
T 775
Service Manual
Page 102
NAD T 775 - Page 102
129 pages
Manual
Save Page as PDF
To Next Page
To Next Page
To Previous Page
To Previous Page
Loading...
100
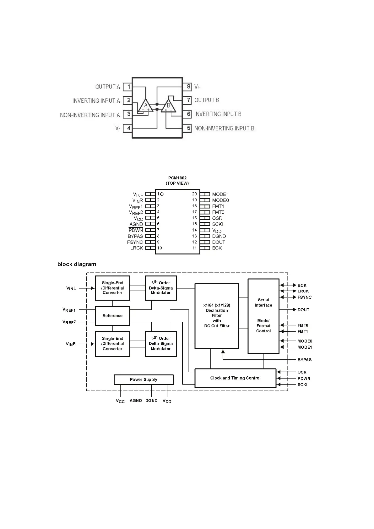
NJM5532M
(U1023, U1027-1031, U9301 in F-input, U8201 in ISC, U6501, U6601, U670
1, U6801 in Pre-Out,
U6004-6007, U6018 in V
olume)
PCM1802
(U1017)
101
103
Table of Contents
Main Page
Table of Contents
3
Specifications
4
Rear Panel / Front Panel View
6
Disassembly Instructions
7
Wiring Diagram
8
Block Diagram
10
Special Function
11
Details & Waveforms on System Test & Debugging
12
Adjustment Points Diagram / Amplifier Adjustment
16
Pcb Layout
17
Schematic Diagram
41
Electrical Parts List
70
IC Block Diagram
95
Exploded View
121
Exploded View Parts List
122
Packing Diagram
128
Other manuals for NAD T 775
Owner's Manual
46 pages
Related product manuals
NAD T 778
36 pages
NAD T 773
18 pages
NAD T 777
57 pages
NAD T 787
48 pages
NAD T 762
75 pages
NAD T 761
70 pages
NAD T 743
32 pages
NAD T 758
44 pages
NAD T 757
44 pages
NAD T 741
64 pages
NAD T 755
95 pages
NAD T 751
64 pages