EasyManua.ls Logo

NAD T 775 - IC Block Diagram

NAD T 775
129 pages
Print Icon
To Next Page IconTo Next Page
To Next Page IconTo Next Page
To Previous Page IconTo Previous Page
To Previous Page IconTo Previous Page
Loading...
93
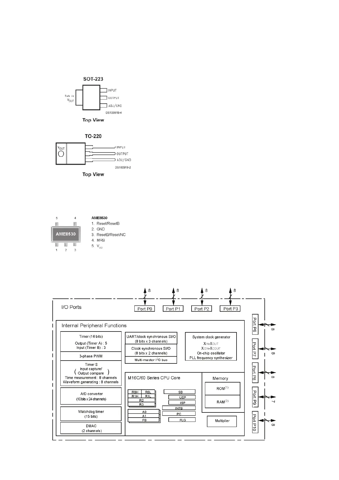
IC BLOCK DIAGRAM
MAINBOARD
LM1117
(U1020 in DSP, U2008 in MCU, VR201, VR2, VR6, U7 in HDMI, U1034 in DSP)
MCU
AME8530
U2006
M30280
(U2001)

Other manuals for NAD T 775

Related product manuals