EasyManua.ls Logo

National Instruments NI USB-621x - Example Application that Works Correctly (no Duplicate Counting)

National Instruments NI USB-621x
178 pages
Print Icon
To Next Page IconTo Next Page
To Next Page IconTo Next Page
To Previous Page IconTo Previous Page
To Previous Page IconTo Previous Page
Loading...
Chapter 9 Counters
NI USB-621x User Manual 9-36 ni.com
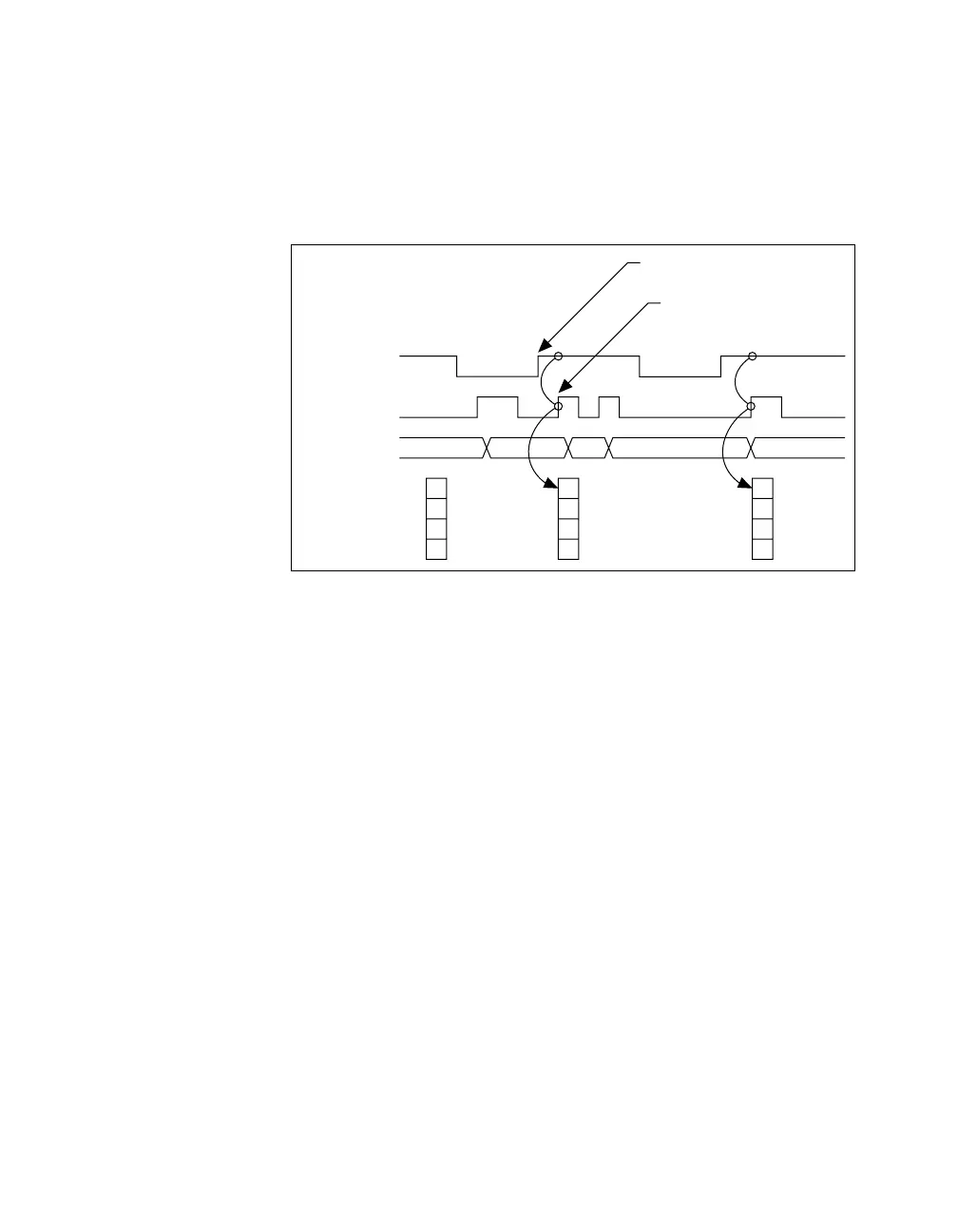
Example Application That Works Correctly
(No Duplicate Counting)
Figure 9-32 shows an external buffered signal as the period measurement
Source.
Figure 9-32. Duplicate Count Prevention Example
On the first rising edge of Gate, the current count of 7 is stored. On the next
rising edge of Gate, the counter stores a 2 since two Source pulses occurred
after the previous rising edge of Gate.
The counter synchronizes or samples the Gate signal with the Source
signal, so the counter does not detect a rising edge in Gate until the next
Source pulse. In this example, the counter stores the values in the buffer on
the first rising Source edge after the rising edge of Gate. The details of
when exactly the counter synchronizes the Gate signal vary depending on
the synchronization mode.
Gate
Source
Counter Value
Buffer
2
7
7
6 7 1 2 1
Rising Edge
of Gate
Counter detects rising edge
of Gate on the next rising
edge of Source.

Table of Contents

Related product manuals