EasyManua.ls Logo

Nikon 4 - The Information Palette

Nikon 4
161 pages
Print Icon
To Next Page IconTo Next Page
To Next Page IconTo Next Page
To Previous Page IconTo Previous Page
To Previous Page IconTo Previous Page
Loading...
23
Getting to Know Nikon Capture 4 Editor
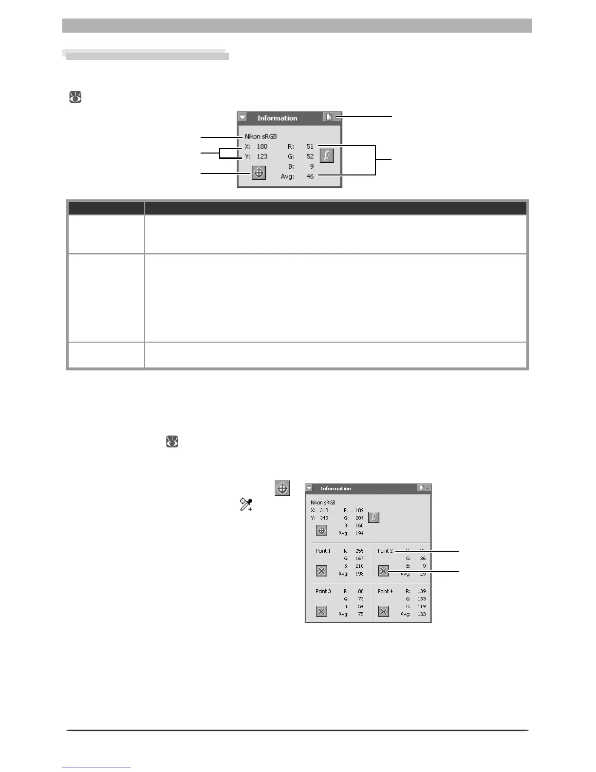
The Information Palette
The information palette shows the position and color of the pixel under the mouse pointer.
To display or hide the Information palette, click the triangle in the Information palette title bar
( 29). By default, the Information palette is in Tool Palette 3.
Information Description
Color space
The working color space for the image in the active image window is dis played at the
top of the in for ma tion palette. This information is embedded in the fi le when the
image is saved.
R, G, B, Avg
The values for each of the red, green, and blue el e ments of the pixel under the cursor
and the average of the three, weighted according to the prop er ties of hu man color
perception (the weighted average is cal cu lat ed as (Red × 0.299) + (Green × 0.587) +
(Blue × 0.114)). Depending on the se lect ed color space, the average may not refl ect
the actual luminance of the pixel under the cursor, but it can be used as a rough guide
to bright ness. Values for R, G, B, and the average of the three range from 0 to 255,
with values for sixteen- and twelve-bit images being scaled to fi t in this range.
x-y coordinates
The position of the cursor in the image win dow, mea sured in pixels from the top left
corner of the image.
Monitoring Watch Points
The Information palette can be used to continually monitor the red, green, blue, and average
values (R, G, B, Avg) for up to four selected pixels (“watch points”). The size of the watch
points can be set using the Dropper sample size option in the Advanced Color tab of the
Preferences dialog ( 102), which can be displayed by clicking the Settings button in the
Information palette and selecting Advanced Color Preferences….
Selecting Watch Points
To select a pix el to monitor, click the
but ton. The cur sor will change to
. Move
the mouse over the de sired pixel and click.
The selected pixel will be add ed to the list of
watch points in the In for ma tion pal ette.
Point number
Delete but ton
x-y coordinates
Red, Green, Blue,
Av er age
Color space
Watch Point button
Settings button

Table of Contents

Related product manuals