EasyManua.ls Logo

NMC-WOLLARD MB-4 200-DF - Page 83

NMC-WOLLARD MB-4 200-DF
321 pages
Print Icon
To Next Page IconTo Next Page
To Next Page IconTo Next Page
To Previous Page IconTo Previous Page
To Previous Page IconTo Previous Page
Loading...
PAGE 8-7
NOVEMBER 30, 2005
M200 MB4 Tow Tractor Manual No. 42975
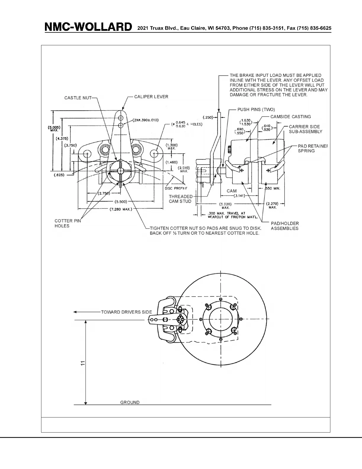
FIGURE 8-3. PARKING BRAKE CALIPER

Table of Contents

Related product manuals