EasyManua.ls Logo

Nokia 2600c-2b - Microphone Fault

Nokia 2600c-2b
177 pages
Print Icon
To Next Page IconTo Next Page
To Next Page IconTo Next Page
To Previous Page IconTo Previous Page
To Previous Page IconTo Previous Page
Loading...
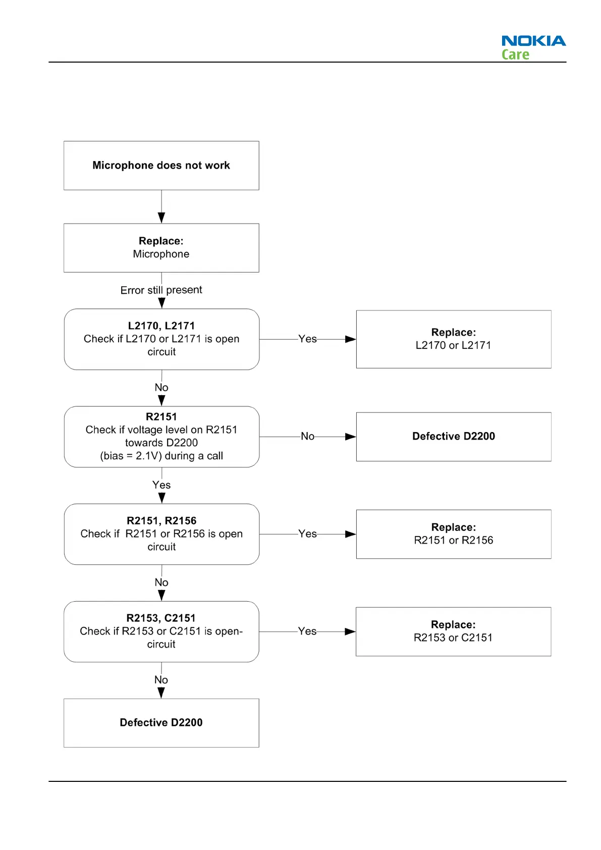
Microphone fault
Troubleshooting flow
Figure 26 Microphone fault flow chart
RM-340; RM-341
Baseband Troubleshooting Instructions
Issue 1 COMPANY CONFIDENTIAL Page 3 –25
Copyright © 2007 Nokia. All rights reserved.

Table of Contents

Related product manuals