EasyManua.ls Logo

Norcold DC0788 - Vue Éclatée - SCQT4408

Norcold DC0788
35 pages
Print Icon
To Next Page IconTo Next Page
To Next Page IconTo Next Page
To Previous Page IconTo Previous Page
To Previous Page IconTo Previous Page
Loading...
MANUEL D’ENTRETIEN
17
www.norcold.com
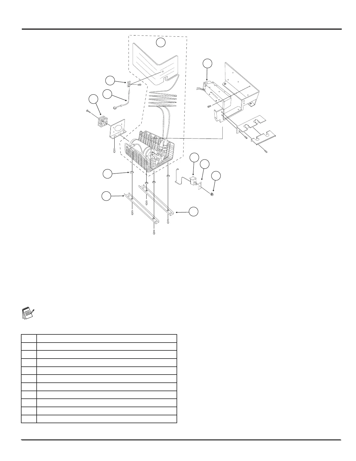
REMARQUE : Consultez la liste de pièces pour obtenir une
liste complète et de l’information détaillée.
Description
1 Unité de refroidissement avec évaporateur
2 Fixation
3 Thermistance d’évaporateur
4 Moteur de ventilateur
5 Alimentation
6 Ensemble de commande
7 Marque du cadre de l’évaporateur
8 Ensemble de cadrans
9 Entretoise
10 Support
Fig. 4 - Vue éclatée - SCQT4408
1
Art02321
6
7
10
2
4
8
10
3
5
9
Vue éclatée - SCQT4408

Table of Contents

Related product manuals