EasyManua.ls Logo

Norcold N611v - Page 18

Norcold N611v
44 pages
Print Icon
To Next Page IconTo Next Page
To Next Page IconTo Next Page
To Previous Page IconTo Previous Page
To Previous Page IconTo Previous Page
Loading...
Installation and Owner’s Manual 18
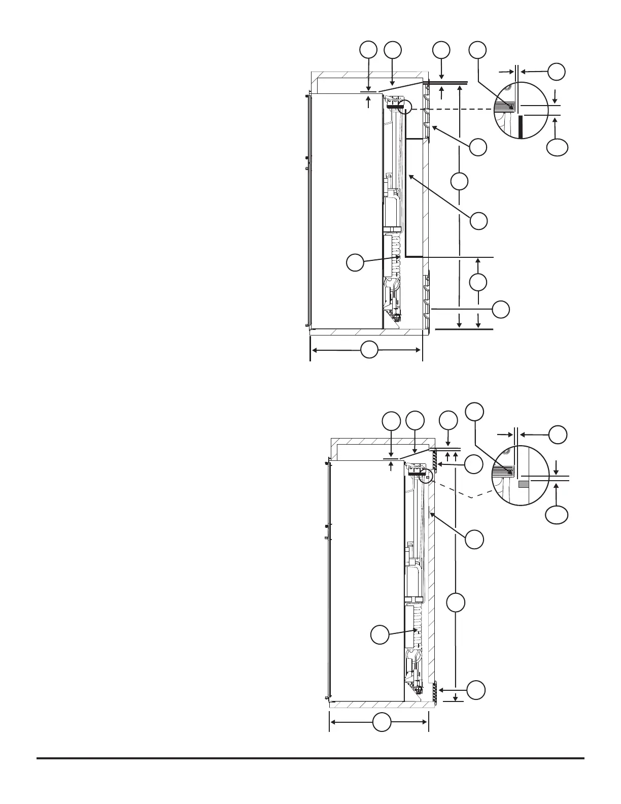
- Make sure that the bend of the bafe is the full
width of the inside of the enclosure.
- Make sure that the bend of the bafe is ush with
the bottom edge of the upper intake vent door
frame.
- Make sure that the top edge of the bafe is
between 1/4 inch [213] below the condenser and
1 1/2 inches above the bottom of the condenser
and that there is 1/4 inch or less clearance [15]
between the rear of the condenser and the bafe.
- For the best cooling performance, the bafe
should be 1/4 inch below the bottom of the
condenser.
- If the depth of the enclosure is more than 26 inches
[27], install a wood or an aluminum or galvanized
steel sheet solid box bafe [21] between the lower
intake vent and the upper exhaust vent (See
Art01593-1).
- Make sure that the solid box bafe is the full width
of the inside of the enclosure.
- Make sure that the bottom of the solid box bafe
is 18 inches to 18 1/2 inches above the bottom of
the enclosure [17].
- Make sure that the back of the solid box bafe is
perpendicular to the bottom of the enclosure.
- Make sure that the horizontal top of the solid box
bafe is even with the bottom edge of the upper
exhaust vent [24].
- Make sure that the vertical top edge of the bafe is
between 1/4 inch [213] below the condenser and 1 1/2
inches above the bottom of the condenser.
- Make sure that there is 1/4 inch or less clearance [15]
between the rear of the condenser and the bafe.
- When using an upper side-wall exhaust vent 620505 or 636264:
- If the depth of the enclosure is 24 inches or more and is
less than 25 inches [27], do not install a bafe.
- If the depth of the enclosure is 25 inches or more and is
less than 26 inches [27], install a bafe [16] to the rear of
the enclosure (See Art02425).
- Make sure that the bafe is the full width of the inside
of the enclosure.
Art01593-1
27
17
10
9
25
21
24
1513
15
11
15
213
Art02425
15
13
15
25
24
26
9
10
27
11
15
213

Table of Contents

Related product manuals