EasyManua.ls Logo

Norcold N611v - Page 40

Norcold N611v
44 pages
Print Icon
To Next Page IconTo Next Page
To Next Page IconTo Next Page
To Previous Page IconTo Previous Page
To Previous Page IconTo Previous Page
Loading...
Manuel de d’installation et l’utilisation 18
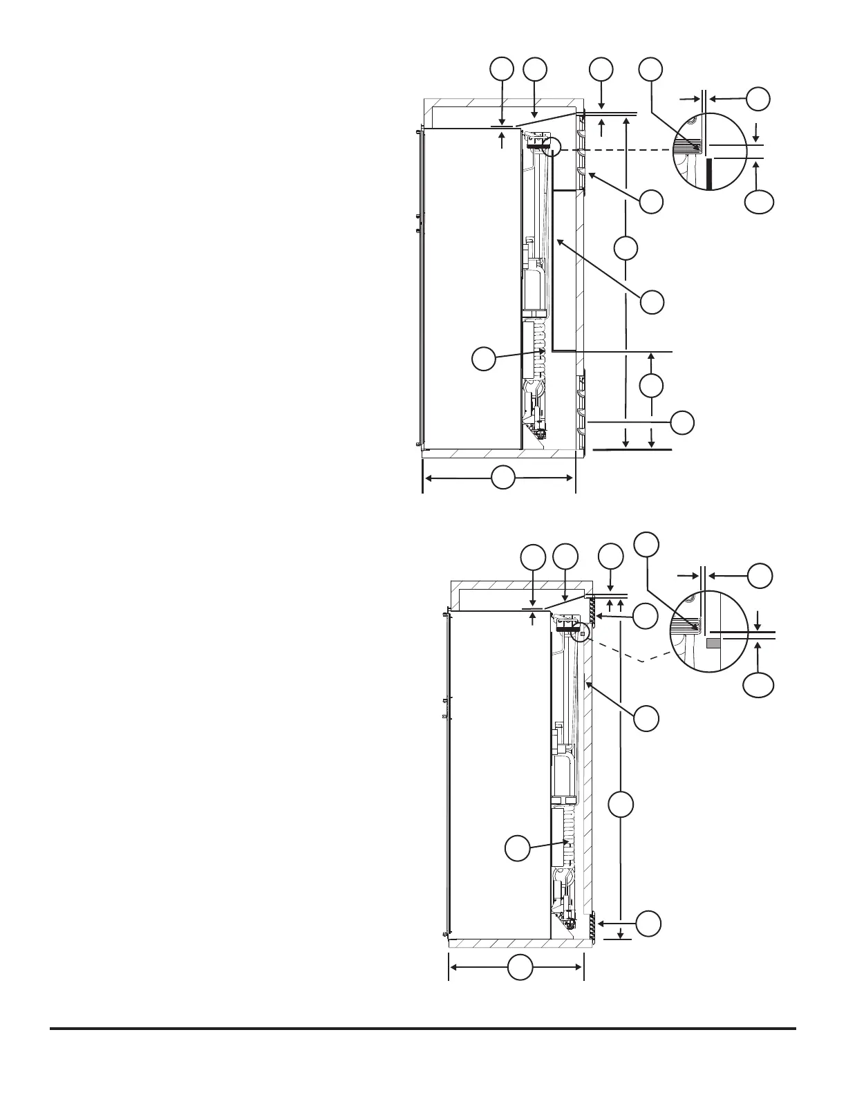
- Veiller à ce que la courbure du déecteur fasse
toute la largeur de l'intérieur de l'enceinte.
- S'assurer que la courbure du déecteur afeure
le bord inférieur du cadre de la porte de la
bouche de prise d'air supérieure.
- S'assurer que le bord supérieur du déecteur
se trouve entre 1/4 po [213] au-dessous du
condenseur et 1 1/2 po au-dessus du bas du
condenseur et qu’il y a un dégagement de 1/4 po
au plus [15] entre l'arrière du condenseur et le
déecteur.
- Le refroidissement est optimal lorsque le
déecteur se trouve à 1/4 in au-dessous du
bas du condenseur.
- Si la profondeur de l'enceinte est de plus de 26 po
[27], installer un déecteur en forme de boîte pleine
en bois, en aluminium ou en tôle d'acier galvanisé
[21] entre la prise d'air inférieure et la bouche
d'échappement supérieure (voir Art01593-1).
- Veiller à ce que le déecteur en forme de boîte
pleine fasse toute la largeur de l'intérieur de
l'enceinte.
- S'assurer que le bas du déecteur en forme de
boîte pleine se trouve entre 18 po et 18 1/2 po
au-dessus du bas de l'enceinte [17].
- Veiller à ce que l'arrière du déecteur en forme
de boîte pleine soit perpendiculaire au bas de
l'enceinte.
- S'assurer que la partie supérieure horizontale du
déecteur en forme de boîte pleine afeure le bord
inférieur de la bouche d'échappement supérieure [24].
- S'assurer que le bord supérieur vertical du
déecteur se trouve entre 1/4 po [213] au-dessous
du condenseur et 1 1/2 po au-dessus du bas du
condenseur.
- Veiller à ce qu'il y ait un dégagement de moins de 1/4
po [15] entre l'arrière du condenseur et le déecteur.
- Lors de l’utilisation d’une bouche d’échappement de paroi
latérale supérieure 620505 ou 636264 :
- Si la profondeur de l’enceinte est de 24 po ou plus et moins
de 25 po [27], ne pas installer de déecteur.
- Si la profondeur de l’enceinte est de 25 po ou plus et moins
de 26 po [27], installer un déecteur [16] à l’arrière de
l’enceinte (Voir Art02425).
- Veiller à ce que le déecteur fasse toute la largeur de
l’intérieur de l’enceinte.
Art01593-1
27
17
10
9
25
21
24
1513
15
11
15
213
Art02425
15
13
15
25
24
26
9
10
27
11
15
213

Table of Contents

Related product manuals