EasyManua.ls Logo

Novus N321 - Electrical Connections; N321 Model Wiring; Pt100 Sensor Wiring; Thermocouple Sensor Wiring

Novus N321
6 pages
Print Icon
To Next Page IconTo Next Page
To Next Page IconTo Next Page
To Previous Page IconTo Previous Page
To Previous Page IconTo Previous Page
Loading...
N321, N322, N323
NOVUS AUTOMATION 2/6
Measurement range T: ............................ -50 to 400 °C (32 to 752 °F)
Measurement accuracy: ......................... 0.2 % F.S. ± 2 °C @ 25 °C
Notes:
1. All input types are factory calibrated.
2. The thermocouples follow the NBR 12771/99 standard.
3. The Pt100 follow the NBR 13773/97 standard.
4. The operating range of the NTC sensor cable, which may
come with the controller, is limited to -30 to 105 °C (-22 to 221
°F).
Its typical length is 3 meters. It can be extended up to 100
meters. It is composed of 2 wires of 0.5 mm² section.
The maximum error in the interchangeability of original NTC
sensors is 0.75 °C. This error can be eliminated using the
Offset parameter.
Measurement resolution: .............. 0.1° in the range -19.9 to 199.9°
......................................................................................... 1° elsewhere
OUT1: ...................................... SPDT Relay: 1 HP 250 Vac / 30 Vdc /
.................................................................. 1/3 HP 125 Vac (16 A Res.)
OUT2: ................................... SPST-NO Relay: 3 A / 250 Vac / 30 Vdc
OUT3: ................................... SPST-NO Relay: 3 A / 250 Vac / 30 Vdc
Power supply:
Voltage: ................................... 100 to 240 Vac/dc (± 10 %)
Frequency: ........................................................... 50~60 Hz
Consumption: ............................................................... 5 VA
Optionally: ...................................... 24 V (12~30 Vdc/ac) (*)
(*) Note: Models with a 24 V power supply do not have
electrical isolation between the power supply, input, and
RS485 communication circuits.
In direct current (Vdc) supply networks, you must observe
the polarity of the connection.
Dimensions:
Width x height x depth: .............................. 75 x 33 x 75 mm
Panel cut-out: .................................................... 70 x 29 mm
Weight: ...................................................................... 100 g
Operation conditions:
Operation temperature: .................0 to 40 °C (32 a 104 °F)
Storage temperature: ................. -20 to 60 °C (-4 a 140 °F)
Relative humidity: ......................................... 20 to 85 % RH
Connections for wires up to 4.0 mm².
Housing: Polycarbonate UL94 V-2.
Protection index: Housing: IP42 | Front: IP65.
Certifications: CE, UKCA, UL.
The RS485
interface (when available on the
controller) is NOT electrically isolated from the
input circuit.
It is also NOT isolated from the power supply
circuit in 24V power supply models (12~24
Vdc).
It is electrically isolated from the supply circuit
in models with a 100~240 Vac/dc power supply.
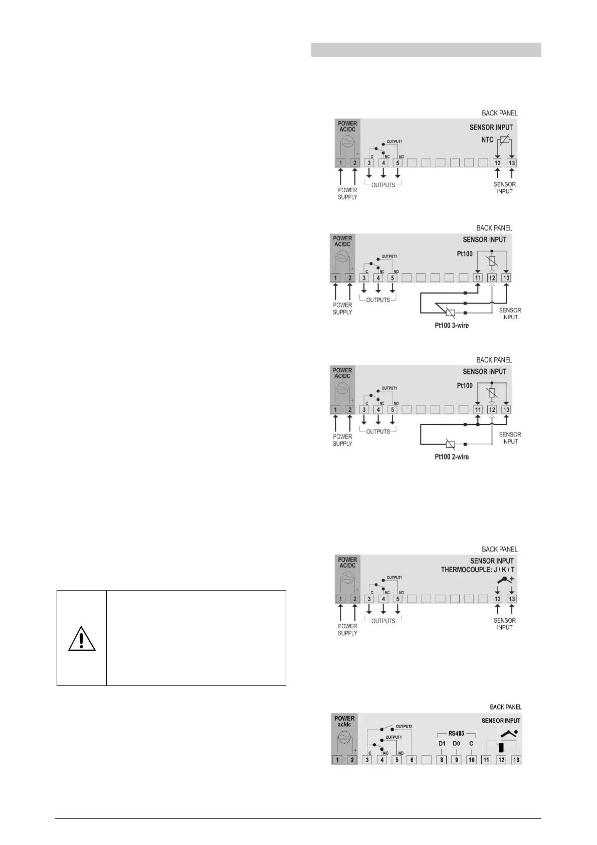
5. ELECTRICAL CONNECTIONS
5.1 N321 MODEL
The figures below show the connection terminals for the N321
sensor, power supply, and output:
Figure 2 Connections (NTC)
Figure 3 Connections (Pt100 3-wire)
Figure 4 Connections (Pt100 2-wire)
For Pt100, you must use a 3-wire Pt100 sensor, as shown in Figure
3. To use a 2-wire Pt100, use the connections shown in Figure 4. In
it, terminals 11 and 13 of the controller are interconnected.
To compensate the Pt100 sensor cables properly, the conductors
must all have the same electrical resistance (cross-section).
Figure 5 Connections (Thermocouple)
5.2 N322 MODEL
The figures below show the connection terminals for the N322
sensor, power supply, and output:
Figure 6 Connections
* The serial communication feature is not always available in N322.
Pt100 3-wire. For 2-wire connection, terminals 11 and 13 must be
interconnected. For proper cable resistance compensation, the

Other manuals for Novus N321

Related product manuals